lemon-mirror:
Home >> GMC >> 2007 >> Envoy 2WD V8-5.3L >> Repair and Diagnosis >> Diagrams >> Connector Views >> Engine Control Module

Engine Control Module



Engine Control Module Connector End Views

Engine Control Module (ECM) C1









Engine Control Module (ECM) C1 (Pin 1 To 15):





Engine Control Module (ECM) C1 (Pin 16 To 56):






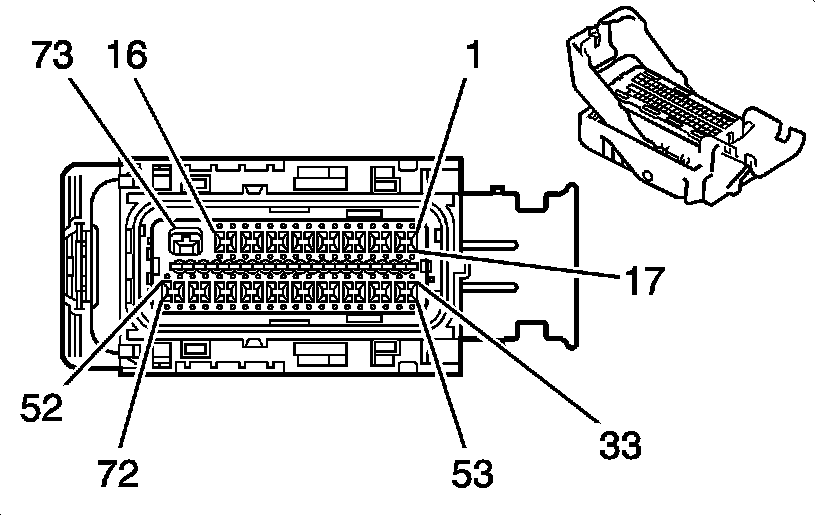
Engine Control Module (ECM) C2









Engine Control Module (ECM) C2 (Pin 1 To 10):





Engine Control Module (ECM) C2 (Pin 11 To 54):





Engine Control Module (ECM) C2 (Pin 55 To 73):






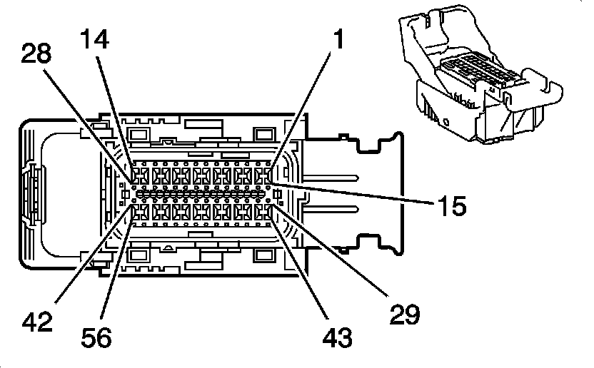
Engine Control Module (ECM) C3









Engine Control Module (ECM) C3 (Pin 1 To 15):





Engine Control Module (ECM) C3 (Pin 16 To 59):





Engine Control Module (ECM) C3 (Pin 60 To 73):