lemon-mirror:
Home >> GMC >> 1992 >> Syclone V6-262 4.3L Turbo >> Repair and Diagnosis >> Diagrams >> Exploded Views >> Heating and Air Conditioning >> Upper Components

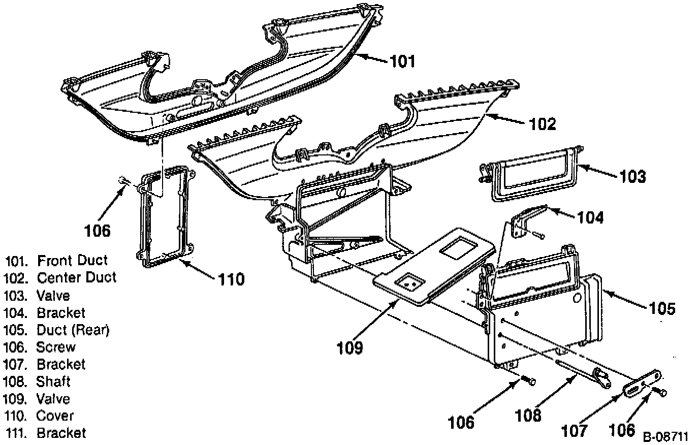
Upper Components

Air Distribution Assembly Component View: