lemon-mirror:
Home >> Freightliner >> 2009 >> Sprinter 2500 V6-3.0L DSL Turbo >> Repair and Diagnosis >> Powertrain Management >> Computers and Control Systems >> Engine Control Module >> Diagrams >> Engine Control Module C1 (Diesel) (OM642) 94 Way

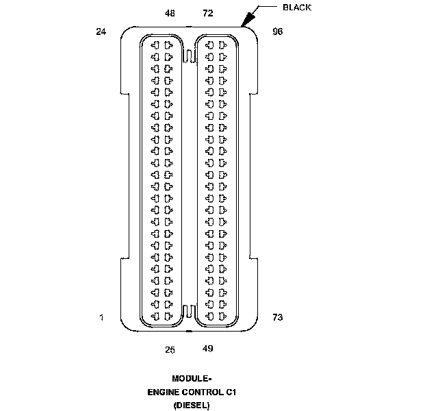
Engine Control Module C1 (Diesel) (OM642) 94 Way






Connector C1 (DIESEL) - (OM642) 94 WAY




MODULE-ENGINE CONTROL (DIESEL) - (OM642) 94 WAY