lemon-mirror:
Home >> Ford >> 2012 >> Fusion FWD V6-3.0L Flex Fuel >> Repair and Diagnosis >> Specifications >> Mechanical Specifications >> Engine >> Timing Cover

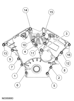
Timing Cover




Position the engine front cover and install the bolts.
Tighten in the sequence shown to 25 Nm (18 lb-ft).











Install the 2 oil pan-to-front cover bolts.
Tighten to 25 Nm (18 lb-ft).