lemon-mirror:
Home >> Ford >> 2012 >> F 150 2WD V6-3.7L >> Repair and Diagnosis >> Maintenance >> Alignment >> Specifications >> Ride Height Measurement

Ride Height Measurement




Ride Height Measurement

Front Ride Height Measurement










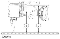
Rear Ride Height Measurement (All Except SVT Raptor)










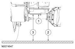
Rear Ride Height Measurement (SVT Raptor)