lemon-mirror:
Home >> Ford >> 2012 >> F 150 2WD V6-3.7L >> Repair and Diagnosis >> Diagrams >> Exploded Views >> Engine Lubrication

Engine Lubrication




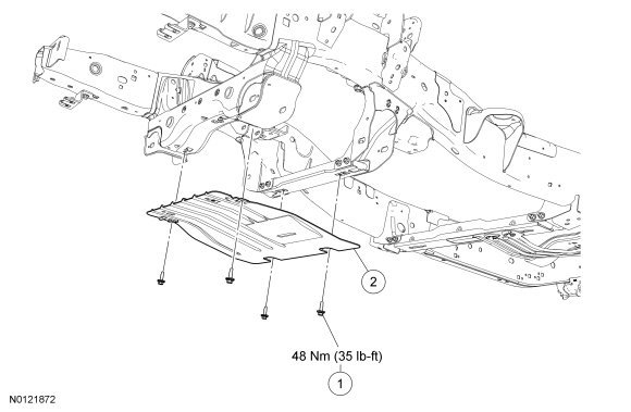
Engine Lubrication Components - Exploded View

Skid Plate

NOTE: For vehicles equipped with skid plate.










Engine Lubrication Components










1. Refer to the procedures and/or exploded views for any Warnings, Notices, Notes, Materials, Specifications, and Special Tools. Items in the exploded views may not be listed in order of removal.