lemon-mirror:
Home >> Ford >> 2011 >> Transit Connect L4-2.0L >> Repair and Diagnosis >> Windows and Glass >> Windows >> Power Window Switch >> Testing and Inspection

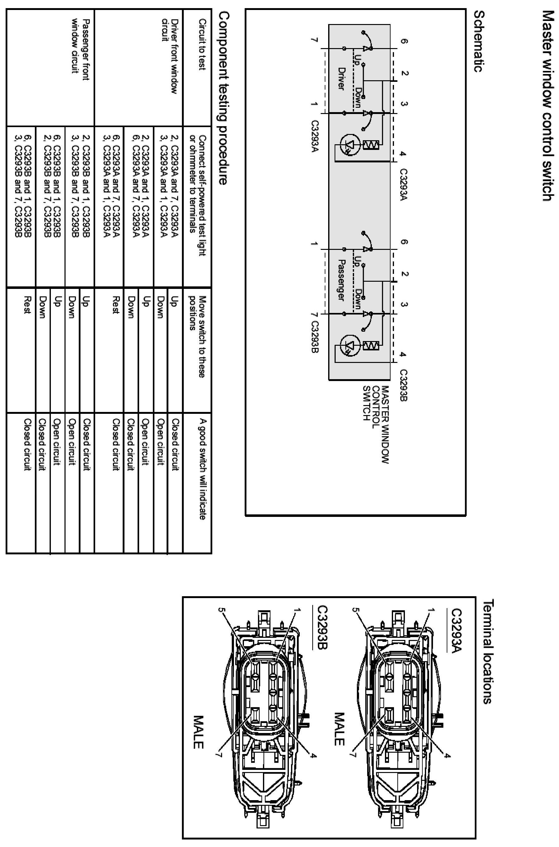
Power Window Switch: Testing and Inspection