lemon-mirror:
Home >> Ford >> 2011 >> Transit Connect L4-2.0L >> Repair and Diagnosis >> Body and Frame >> Mirrors >> Power Mirror Switch >> Service and Repair

Power Mirror Switch: Service and Repair




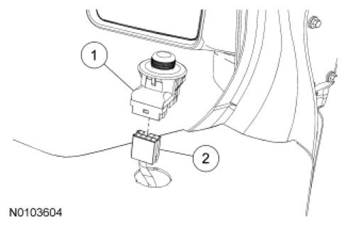
Exterior Mirror Control Switch









Removal and Installation

1. Remove the exterior mirror control switch.
- Using a non-marring tool, pry upward on the exterior mirror control switch at the location shown.





2. Disconnect the exterior mirror control switch electrical connector.

3. To install, reverse the removal procedure.