lemon-mirror:
Home >> Ford >> 2011 >> Fusion FWD V6-3.0L Flex Fuel >> Repair and Diagnosis >> Specifications >> Mechanical Specifications >> Engine >> Timing Cover

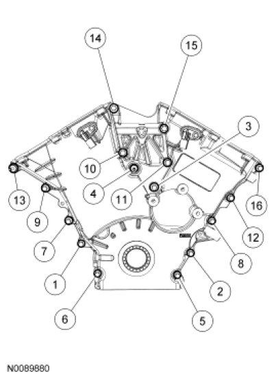
Timing Cover




Position the engine front cover and install the bolts. Tighten in the sequence shown to 25 Nm (18 lb-ft).










Oil Pan-To-Front-Cover Bolts 26 Nm (19 lb-ft)