lemon-mirror:
Home >> Ford >> 2011 >> Focus L4-2.0L >> Repair and Diagnosis >> Maintenance >> Fluids >> Fluid - M/T >> Service and Repair

Fluid - M/T: Service and Repair




Transaxle Draining and Filling





1. With the vehicle in NEUTRAL, position it on a hoist. For additional information, refer to Jacking and Lifting Service and Repair.

2. Remove the drain plug and drain the transaxle.

3. Clean and install the drain plug.
- Tighten to 35 Nm (26 lb-ft).

4. NOTE: Before removing, clean the area around the filler plug.

Remove the fill plug.





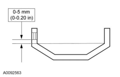
5. Using a suitable oil suction gun, fill the transaxle to the correct level with the specified fluid.
- Transaxle fluid level: 0.0-5.0 mm (0.0-0.2 in) below the lower edge of the filler plug bore.





6. Install the fill plug.
- Tighten to 35 Nm (26 lb-ft).