lemon-mirror:
Home >> Ford >> 2011 >> Fiesta L4-1.6L >> Repair and Diagnosis >> Windows and Glass >> Windows >> Power Window Switch >> Testing and Inspection >> Master Window Control Switch

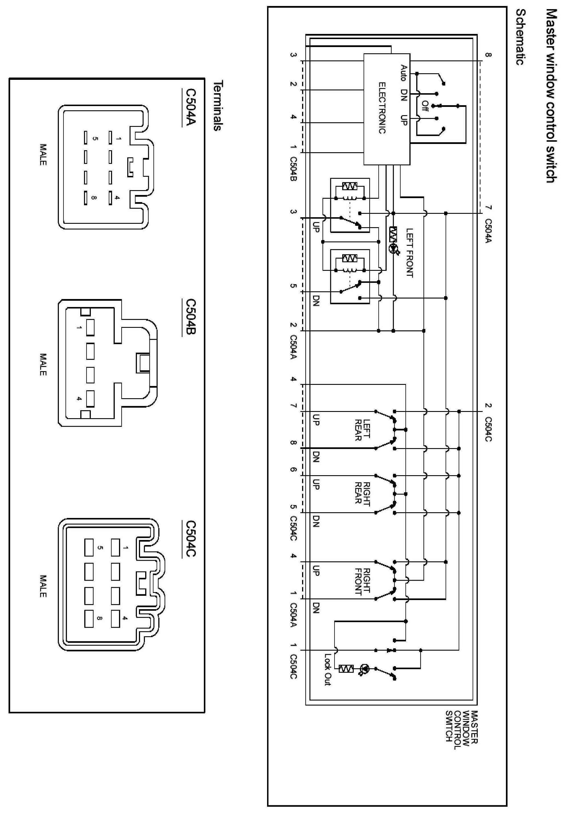
Master Window Control Switch