lemon-mirror:
Home >> Ford >> 2011 >> Fiesta L4-1.6L >> Repair and Diagnosis >> Heating and Air Conditioning >> Compressor HVAC >> Compressor Clutch >> Service and Repair

Compressor Clutch: Service and Repair




Clutch and Clutch Field Coil













Removal

1. Remove the A/C compressor. For additional information, refer to Air Conditioning (A/C) Compressor Air Conditioning (A/C) Compressor.

2. Remove the A/C clutch disc and hub bolt.

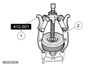
1. Using the Compressor Clutch Holding Tool, hold the A/C clutch disc and hub.

2. Remove the A/C clutch disc and hub bolt.





3. Remove the A/C clutch disc and hub.

4. Remove the A/C clutch disc and hub spacer(s).

5. Remove the A/C compressor pulley snap ring.

6. NOTICE: Do not use air tools. Damage to the Air Conditioning (A/C) compressor pulley or A/C compressor may result.

Remove the A/C compressor pulley.

1. Install the Compressor Pulley Remover.

2. Remove the A/C compressor pulley.





7. NOTICE: Do not use air tools. Damage to the Air Conditioning (A/C) clutch field coil or A/C compressor may result.

Remove the A/C clutch field coil.

1. Install the A/C Compressor Field Coil Remover.

2. Install the Compressor Pulley Remover.

3. Remove the A/C clutch field coil.





Installation

1. Clean the A/C clutch field coil and pulley mounting surfaces.

2. NOTICE: Do not use air tools. Damage to the Air Conditioning (A/C) clutch field coil or A/C compressor may result.

Install the A/C clutch field coil.

1. Place the A/C clutch field coil on the A/C compressor with the A/C clutch field coil electrical connector correctly positioned.

2. Place the A/C Compressor Field Coil Installer on the A/C clutch field coil.

3. Place the A/C Compressor Coil Installer on the A/C Compressor Field Coil Installer.

4. Use the Compressor Pulley Remover to install the A/C clutch field coil.





3. Install the A/C compressor pulley.

4. Install the A/C compressor pulley snap ring.

5. Install the A/C clutch disc and hub spacer(s) and the A/C clutch disc and hub.

6. Install the A/C clutch disc and hub bolt.

1. Hold the A/C clutch disc and hub with the Compressor Clutch Holding Tool.

2. Tighten to 13 Nm (115 lb-in).





7. Measure and adjust the clutch air gap by adding or removing A/C clutch disc and hub spacers. For additional information, refer to the A/C clutch air gap procedure in Climate Control System - General Information and Diagnostics Adjustments.

8. Install the A/C compressor. For additional information, refer to Air Conditioning (A/C) Compressor Air Conditioning (A/C) Compressor.