lemon-mirror:
Home >> Ford >> 2011 >> F 150 2WD V6-3.7L >> Repair and Diagnosis >> Diagrams >> Exploded Views >> Arm Rest

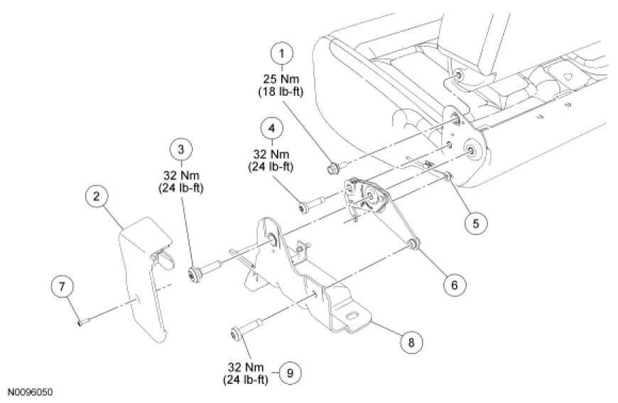
Arm Rest




Seat - Exploded View, Rear, Crew Cab

Seat Backrest - 40 Percent









Seat Backrest - 60 Percent









Heated Seat System - 60 Percent Backrest









Seat Armrest - 60 Percent









Outboard Cushion Latch - 40 Percent









Inboard Cushion Latch - 40 Percent









Outboard Cushion Latch - 60 Percent









Inboard Cushion Latch - 60 Percent









Seat Cushion - 40 Percent









Seat Cushion - 60 Percent