lemon-mirror:
Home >> Ford >> 2011 >> Escape 2WD L4-2.5L Hybrid >> Repair and Diagnosis >> Powertrain Management >> Computers and Control Systems >> Description and Operation >> Engine Control Components >> Part 1

Part 1

ENGINE CONTROL COMPONENTS

Accelerator Pedal Position (APP) Sensor
There are two pedal position signals in the sensor. Both signals, APP1 and APP2, have a positive slope (increasing angle, increasing voltage), but are offset and increase at different rates. The two pedal position signals make sure the powertrain control module (PCM) receives a correct input even if one signal has a concern. The PCM determines if a signal is incorrect by calculating where it should be, inferred from the other signals. If a concern is present with one of the circuits the other input is used. There are two reference voltage circuits, two signal return circuits, and two signal circuits (a total of six circuits and pins) between the PCM and the APP sensor assembly. The reference voltage circuits and the signal return circuits are shared with the reference voltage circuit and signal return circuit used by the electronic throttle body (ETB) throttle position (TP) sensor. The pedal position signal is converted to pedal travel degrees (rotary angle) by the PCM. The software then converts these degrees to counts, which is the input to the torque based strategy. For additional information, refer to Torque Based Electronic Throttle Control (ETC).







Brake Pedal Position (BPP) Switch
The BPP switch is a normally open switch that, when closed, sends a signal to the PCM when the brake pedal is applied. The PCM strategy uses this signal input to aid the PCM in determining the correct function and operation of the vehicle speed control, the electronic throttle control (ETC), and the transaxle and regenerative braking systems. The BPP switch is hard wired to the PCM and supplies positive battery voltage (+12 volts) when the brake pedal is applied. When the brake pedal is released, the BPP switch opens and no battery voltage input is sent to the PCM. The PID name for this switch is BOO1.

Brake Pressure Switch (BPS)
The BPS used for vehicle speed control deactivation is a normally closed switch, which supplies positive battery voltage (+12 volts) to the PCM when the brake pedal is released. When the brake pedal is applied, the normally closed switch opens and power is removed from the BPS circuit to the PCM.

The normally closed brake pressure switch, along with the normally open BPP switch, is used by the PCM strategy for a brake pedal rationality test. The PCM strategy looks for each switch to change states when the brake pedal is applied and released. If a failure occurs in one or both of the brake pedal inputs a diagnostic trouble code is set and the PCM misfire on board diagnostic (OBD) monitor is disabled. The PID name for this switch is BOO2.

Camshaft Position (CMP) Sensor
The CMP sensor is a Hall-effect sensor that detects the position of the camshaft. The CMP sensor identifies when piston number 1 is on its compression stroke. A signal is then sent to the PCM and used for synchronizing the sequential firing of the fuel injectors. The PCM also uses the CMP signal to select the correct ignition coil to fire.







Canister Vent (CV) Solenoid
During the evaporative emissions (EVAP) leak check monitor, the CV solenoid seals the EVAP canister from the atmospheric pressure. This allows the EVAP canister purge valve to obtain the target vacuum in the fuel tank during the EVAP leak check monitor.







Coil On Plug (COP)
The COPs are part of the distributorless ignition system. They are the source of the high voltage which is used to generate the spark by the spark plug. The hybrid vehicle uses four COPs, one for each cylinder. The COPs are mounted directly onto the spark plugs. The function of the COP is to convert low voltage into high voltage in excess of 40,000 volts.

The COP consists of primary and secondary windings. The primary winding is energized by the IGN START/RUN circuit. The PCM coil driver circuit is connected to the primary winding as well. The secondary winding is connected to the spark plug. The current flowing through the primary winding generates the magnetic field across both windings. The PCM activates the coil driver circuit by opening it. The instant the circuit opens the magnetic field collapses, inducing current flow in the secondary winding.

The COP has three different modes of operation: engine crank, engine running, and CMP failure mode effects management (FMEM).







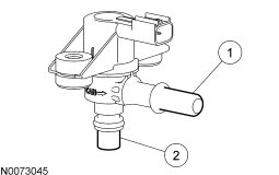
Crankshaft Position (CKP) Sensor
The CKP sensor is a magnetic transducer mounted on the engine block adjacent to a pulse wheel located on the crankshaft. By monitoring the crankshaft mounted pulse wheel, the CKP is the primary sensor for ignition information to the PCM. The pulse wheel has a total of 35 teeth spaced 10 degrees apart with one empty space for a missing tooth. By monitoring the pulse wheel, the CKP sensor signal indicates the crankshaft position and speed information to the PCM. By monitoring the missing tooth, the CKP sensor is also able to identify piston travel in order to synchronize the ignition system and provide a way of tracking the angular position of the crankshaft relative to a fixed reference. The PCM also uses the CKP signal to determine if a misfire has occurred by measuring rapid decelerations between pulse wheel teeth.







Cylinder Head Temperature (CHT) Sensor
The CHT sensor is a thermistor device in which the resistance changes with temperature. The electrical resistance of a thermistor decreases as the temperature increases, and the resistance increases as the temperature decreases. The varying resistance affects the voltage drop across the sensor terminals and provides electrical signals to the PCM corresponding to temperature.

Thermistor type sensors are considered passive sensors. A passive sensor is connected to a voltage divider network so varying the resistance of the passive sensor causes a variation in total current flow.

The CHT sensor is installed in the aluminum cylinder head and measures the metal temperature. The CHT sensor provides complete engine temperature information and can be used to infer coolant temperature. If the CHT sensor conveys an overheating condition to the PCM, the PCM then initiates a fail-safe cooling strategy based on information from the CHT sensor. A cooling system failure such as low coolant or coolant loss could cause an overheating condition. As a result, damage to major engine components could occur. Using both the CHT sensor and fail-safe cooling strategy, the PCM prevents damage by allowing air cooling of the engine and limp home capability. For additional information, refer to Powertrain Control Software Fail-Safe Cooling Strategy.







Electric Exhaust Recirculation Valve (EEGR) Valve
The EEGR valve is a water-cooled motor/valve assembly. The motor is commanded to move in 52 discrete steps as it acts directly on the EEGR valve. The position of the valve determines the rate of EGR. The built-in spring works to close the valve against the motor opening force.







Electronic Throttle Body (ETB) Throttle Position Sensor
The ETB throttle position sensor has two signal circuits in the sensor for redundancy. The redundant ETB throttle position signals are required for increased monitoring. The first ETB throttle position sensor signal (TP1) has a negative slope (increasing angle, decreasing voltage) and the second signal (TP2) has a positive slope (increasing angle, increasing voltage). The two ETB throttle position sensor signals make sure the PCM receives a correct input even if one signal has a concern. There is one reference voltage circuit and one signal return circuit for the sensor. The reference voltage circuit and the signal return circuit is shared with the reference voltage circuits and signal return circuits used by the APP sensor. For additional information, refer to the description of the Torque Based Electronic Throttle Control (ETC).







Evaporative Emission (EVAP) Canister Purge Valve
The EVAP canister purge valve is part of the enhanced EVAP system that is controlled by the PCM. This valve controls the flow of vapors (purging) from the EVAP canister to the intake manifold during various engine operating modes. The EVAP canister purge valve is a normally closed valve. The EVAP canister purge valve controls the flow of vapors electronically by way of a solenoid, eliminating the need for an electronic vacuum regulator and vacuum diaphragm. The PCM outputs a duty cycle between 0% and 100% to control the EVAP canister purge valve.

EVAP Canister Purge Valve











Fan Control
The hybrid vehicle uses a relay controlled fan system. The PCM monitors certain parameters (engine coolant temperature, vehicle speed, A/C ON/OFF status, and A/C pressure) to determine engine cooling fan needs. The PCM controls the fan operation through the low fan control (LFC), medium fan control (MFC), and high fan control (HFC) outputs.

For three-speed fans, although the PCM output circuits are called low, medium, and high fan control (FC), cooling fan speed is controlled by a combination of these outputs. Refer to the following table.







Fuel Injectors

NOTICE: Do not apply battery positive voltage (B+) directly to the fuel injector electrical connector terminals. The solenoids may be damaged internally in a matter of seconds.

The fuel injector is a solenoid-operated valve that meters fuel flow to the engine. The fuel injector is opened and closed a constant number of times per crankshaft revolution. The amount of fuel is controlled by the length of time the fuel injector is held open.

The fuel injector is normally closed, and is operated by a 12-volt source from the fuel injector relay. The ground signal is controlled by the PCM.

The injector is the deposit resistant injector (DRI) type and does not have to be cleaned. Install a new fuel injector if the flow is checked and found to be out of specification.

Typical Fuel Injector











Fuel Pump (FP) Module
The FP module is a device that contains the fuel pump and sender assembly. The fuel pump is located inside the FP module and supplies fuel through the FP module manifold to the engine and FP module jet pump. The jet pump continuously refills the reservoir with fuel, and a check valve located in the manifold outlet maintains system pressure when the fuel pump is not energized. A flapper valve located in the bottom of the reservoir allows fuel to enter the reservoir and prime the fuel pump during the initial fill.







Fuel Tank Pressure (FTP) Sensor
The FTP sensor is used to measure the fuel tank pressure.







Fuel Vapor Vent Valve
The fuel vapor vent valve is a PCM-controlled solenoid that isolates the fuel tank from the rest of the EVAP system. The fuel vapor vent valve is a normally open valve allowing the flow of vapors from the fuel tank to the electronic EVAP canister purge valve and the EVAP canister. The PCM controls the fuel vapor vent valve on/off cycle whenever it is desired to isolate the fuel tank from the rest of the EVAP system.







Generator Shut Down (GSDN)
The PCM keeps the generator motor inverter enabled by continuously toggling the generator motor shut down (GMSDN) output. Typical output frequency varies between 49 and 75 Hz at 50% duty cycle. The PCM also broadcasts a redundant not shutdown message to the TCM over the communication link. When a concern condition is detected, the PCM stops generating this frequency signal and broadcasts a shutdown message to the TCM over the communication link. The TCM then disables the generator motor inverter and sets an appropriate DTC. In the event of GMSDN circuit failure, the PCM still broadcasts a not shutdown message but the hard wire signal frequency is out of expected range. If the circuit becomes open, the vehicle shuts down and the TCM sets the appropriate DTC.

Heated Oxygen Sensor (HO2S)
The HO2S detects the presence of oxygen in the exhaust and produces a variable voltage according to the amount of oxygen detected. A high concentration of oxygen (lean air/fuel ratio) in the exhaust produces a voltage signal less than 0.4 volt. A low concentration of oxygen (rich air/fuel ratio) produces a voltage signal greater than 0.6 volt. The HO2S provides feedback to the PCM indicating air/fuel ratio in order to achieve a near stoichiometric air/fuel ratio of 14.7:1 during closed loop engine operation. The HO2S generates a voltage between 0.0 and 1.1 volts.

Embedded with the sensing element is the HO2S heater. The heating element heats the sensor to a temperature of 800°C (1,472°F). At approximately 300°C (572°F) the engine can enter closed loop operation. The VPWR circuit supplies voltage to the heater. The PCM turns the heater on by providing the ground when the correct conditions occur. The heater allows the engine to enter closed loop operation sooner. The use of this heater requires the HO2S heater control to be duty cycled, to prevent damage to the heater.







Ignition Switch Position Run (ISP-R)
The ISP-R provides the PCM with a VBAT input signal from the ignition switch, indicating that the ignition is in either the ON or START position. When the operator turns the ignition to the OFF or ACC position, the internal combustion engine immediately ceases to provide power. The PCM coordinates the power down sequence by controlling the VPWR circuit and issuing the correct commands to shut down the electrical system in an orderly fashion. For additional information, refer to the Normal Power Down Sequence in Hybrid Electric Control Software. The PCM maintains power to the TCM through the VPWR until the power down sequence is complete. The TBCM is always powered directly from the low voltage battery which permits wake-up when the vehicle is off.

Ignition Switch Position Run/Start (ISP-RS)
The ISP-RS provides the PCM with a VBAT input signal from the ignition switch, indicating the ignition is in the START position.

Immediate Shut Down (ISDN) 1 and 2
The TCM receives the redundant ISDN1 and ISDN2 signals from the high voltage traction battery. Under normal operating conditions the TCM monitors both ISDN circuits for low voltage battery voltage. If at any time during normal operation the TCM detects voltage drop on both ISDN circuits, the electronically controlled continuously variable transaxle (CVT) immediately stops delivering any torque, reduces operating voltage to under 50 volts, and discharges the high voltage capacitors. This action disables the vehicle until the ignition is cycled OFF and ON. The voltage drop on both ISDN circuits is usually a result of some other concern in the hybrid electric system, and DTCs indicating root cause may be stored in other modules. If the voltage drop is detected on only one of the ISDN circuits, the TCM continues its operation and stores the appropriate DTC. The voltage drop on only one of the ISDN circuits usually indicates an open ISDN circuit.

Inertia Fuel Shut-off (IFS) Switch
The IFS switch is used in conjunction with the electric fuel pump. The purpose of the IFS switch is to shut off the fuel pump if a collision occurs. It consists of an inverted pendulum mass that is retained in a conical cone via a set of linear springs. When a sharp impact occurs, the pendulum shifts out of the conical cone, opens the circuit and shuts off the electric fuel pump. Once the switch is open, it must be manually reset before restarting the vehicle.







Intake Air Temperature (IAT) Sensor
The IAT sensor is integrated into the mass air flow (MAF) sensor. It is a thermistor device in which resistance changes with temperature. The electrical resistance of a thermistor decreases as the temperature increases, and the resistance increases as the temperature decreases. The varying resistance affects the voltage drop across the sensor terminals and provides electrical signals to the PCM corresponding to temperature.

A thermistor type sensor is considered a passive sensor. A passive sensor is connected to a voltage divider network so that varying the resistance of the passive sensor causes a variation in the total current flow.

Voltage that is dropped across a fixed resistor in series with the sensor resistor determines the voltage signal at the PCM. This voltage signal is equal to the reference voltage minus the voltage drop across the fixed resistor.

The IAT sensor provides air temperature information to the PCM. The PCM uses the air temperature information as a correction factor in the calculation of fuel and ignition timing.





Integrated Mass Air Flow/Intake Air Temperature (MAF/IAT) Sensor