lemon-mirror:
Home >> Ford >> 2011 >> E 150 V8-5.4L >> Repair and Diagnosis >> Maintenance >> Alignment >> Service and Repair >> Toe Adjustment

Toe Adjustment




Toe Adjustment

1. Start the engine and center the steering wheel.

2. Turn the engine off and, using a suitable steering wheel holding device, lock the steering wheel in the straight-ahead position.

3. Loosen the steering linkage adjusting sleeve nuts.





4. Rotate the adjusting sleeves to obtain the correct toe setting.

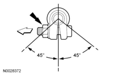
5. Position both adjusting sleeve clamp openings downward within 45 degrees of vertical. Tighten the nuts to 55 Nm (41 lb-ft).





6. Verify the toe settings and adjust as necessary.