lemon-mirror:
Home >> Ford >> 2010 >> Taurus FWD V6-3.5L >> Repair and Diagnosis >> Starting and Charging >> Starting System >> Ignition Switch >> Service and Repair

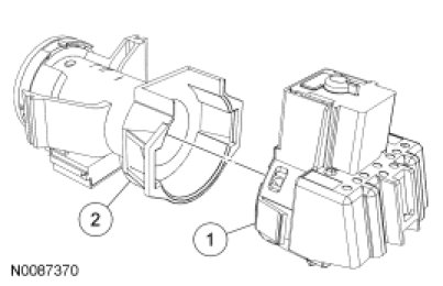
Ignition Switch: Service and Repair




Ignition Switch









Removal and Installation

1. Remove the ignition lock cylinder. For additional information, refer to Doors, Hood and Trunk &/or Locks.

2. Push the 2 locking tabs inward and remove the ignition switch.

3. To install, reverse the removal procedure.