lemon-mirror:
Home >> Ford >> 2010 >> Taurus FWD V6-3.5L >> Repair and Diagnosis >> Body and Frame >> Seats >> Seat Temperature Control Module >> Service and Repair >> Seat - Exploded View, Front

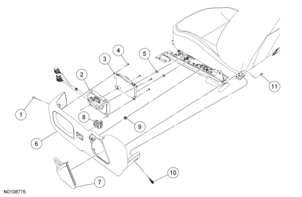
Seat - Exploded View, Front




Seat - Exploded View, Front

Cushion Side Shield - Manual Seat Track With Manual Recline









Cushion Side Shield - Power Seat Track With Manual Recline and Manual Lumbar (6-Way Power)









Cushion Side Shield - Power Seat Track With Power Recline, Power Lumbar and Memory (10-Way Power)









Cushion Side Shield - Power Seat Track With Power Recline, Power Lumbar With Massage and Memory (14-Way Power)









Seat Backrest - Trim Parts









Seat Backrest - Frame Parts With Manual Lumbar and Static Lumbar









Seat Backrest - Frame Parts With Power Recline, Power Lumbar, Power Lumbar With Massage and Climate Controlled Seat System









Seat Cushion - With Massage and Heat

NOTE: Refer to Seat Backrest - Front Seat Backrest - Front for recliner-to-seat track bolt tightening sequence and torque specification.











Passenger Seat Cushion With An OEM Occupant Classification Sensor (OCS) Bladder System and Heat

NOTE: Refer to Seat Backrest - Front Seat Backrest - Front for recliner-to-seat track bolt tightening sequence and torque specification.











Passenger Power Seat Track









Driver Power Seat Track









Passenger Seat Occupant Classification Sensor (OCS) Weight Sensor Bolt System Identification









Passenger Seat Occupant Classification Sensor (OCS) Bladder System Identification

NOTE: Power seat track shown, manual similar.