lemon-mirror:
Home >> Ford >> 2010 >> Fusion FWD L4-2.5L >> Repair and Diagnosis >> Maintenance >> Alignment >> Service and Repair >> Ride Height Measurement

Ride Height Measurement




Ride Height Measurement


Front Ride Height Measurement










NOTE: Make sure that the vehicle is positioned on a flat, level surface and the tires are inflated to the correct pressure. Vehicle should have a full tank of fuel.

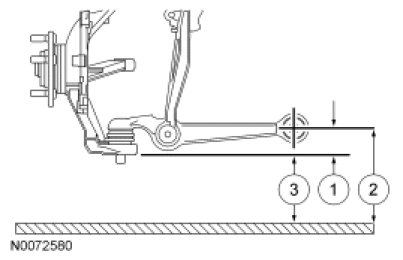
1. Position a suitable surface gauge (such as Starrett 57D Surface Gauge), on a flat, level surface and adjust the arm of the gauge until the scriber point is located in the center of the front lower arm-to-subframe bolt.
- Lock the surface gauge in this position.





2. With the surface gauge positioned on a flat, level surface, record the measurement of the surface gauge position (measurement 2).





3. Position the surface gauge on the same flat, level surface as used in Step 1, adjust the gauge's arm until the scriber point is located at the lowest part of the wheel knuckle, next to the front lower arm ball joint nut.
- Lock the surface gauge in this position.





4. With the surface gauge positioned on a flat, level surface, record the measurement of the surface gauge position (measurement 3).





5. Subtract measurement 3 from measurement 2 to obtain the front ride height.
- Refer to Specifications.


Rear Ride Height Measurement










NOTE: Make sure that the vehicle is positioned on a flat, level surface and the tires are inflated to the correct pressure. Vehicle should have a full tank of fuel.

1. Measure the distance between the flat level surface and center of the lower arm inboard cam bolt (measurement 2).

2. Measure the distance between the flat level surface and the center of the lower arm outboard bolt (measurement 3).

3. Subtract measurement 3 from measurement 2 to obtain the rear ride height.