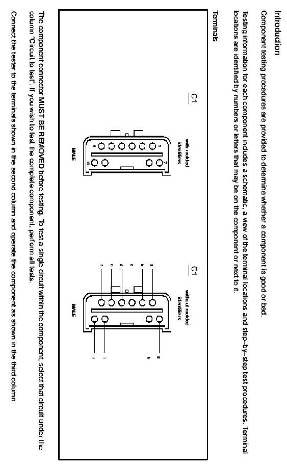
lemon-mirror:
Home >> Ford >> 2010 >> Fusion FWD L4-2.5L Hybrid >> Repair and Diagnosis >> Powertrain Management >> Computers and Control Systems >> Main Relay (Computer/Fuel System) >> Testing and Inspection

Main Relay (Computer/Fuel System): Testing and Inspection