lemon-mirror:
Home >> Ford >> 2010 >> Focus L4-2.0L >> Repair and Diagnosis >> Diagrams >> Exploded Views >> Wiper and Washer Systems

Wiper and Washer Systems




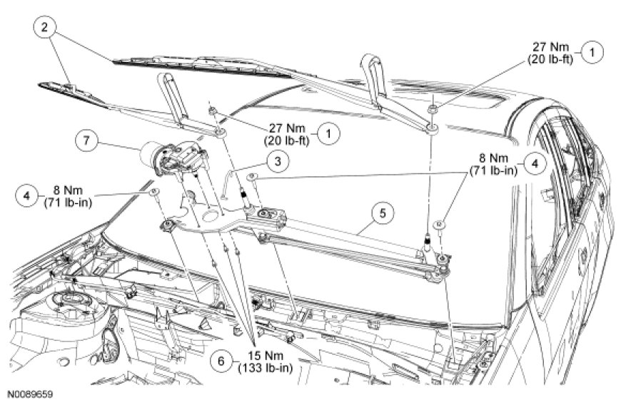
Wiper and Washer System - Exploded View









Windshield Washer Pump and Reservoir Exploded View