lemon-mirror:
Home >> Ford >> 2010 >> Escape 2WD V6-3.0L >> Repair and Diagnosis >> Specifications >> Mechanical Specifications >> Engine >> Timing Cover

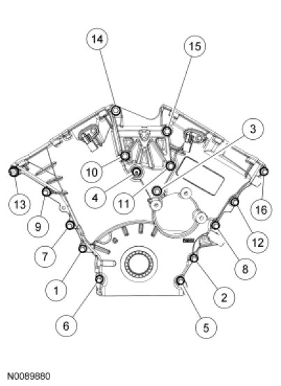
Timing Cover

Position the engine front cover and install the bolts.
Tighten in the sequence shown to 25 Nm (18 lb-ft).