lemon-mirror:
Home >> Ford >> 2010 >> Crown Victoria V8-4.6L >> Repair and Diagnosis >> Heating and Air Conditioning >> Control Assembly >> Service and Repair >> Function Selector Switch

Function Selector Switch




Function Selector Switch

Removal and Installation

1. Remove the climate control assembly. For additional information, refer to Climate Control Assembly Climate Control Assembly.

2. Pull and remove the function selector switch knob.

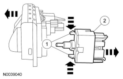
3. Remove the function selector switch.

1. Release the tabs.

2. Remove the function selector switch.





4. To install, reverse the removal procedure.