lemon-mirror:
Home >> Ford >> 2009 >> Taurus FWD V6-3.5L >> Repair and Diagnosis >> Heating and Air Conditioning >> Control Assembly >> Service and Repair

Control Assembly: Service and Repair






Heating Ventilation Air Conditioning (HVAC) Module









Removal and Installation

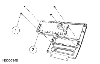
1. Remove the instrument panel center finish panel. Instrument Cluster / Carrier

2. Remove the 4 HVAC module screws.

3. Remove the HVAC module.

4. To install, reverse the removal procedure.