lemon-mirror:
Home >> Ford >> 2009 >> E 150 V8-5.4L >> Repair and Diagnosis >> Specifications >> Mechanical Specifications >> Engine >> Cylinder Block Assembly >> System Specifications >> Main Bearing Cap

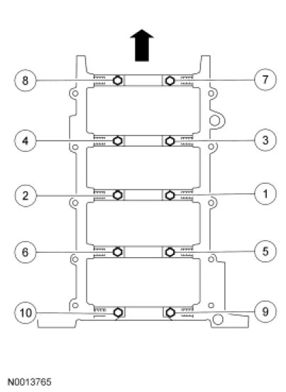
Main Bearing Cap

Tighten the 10 vertical main bearing cap fasteners in the sequence shown, in 2 stages:
Stage 1: Tighten to 40 Nm (30 lb-ft).
Stage 2: Tighten an additional 90 degrees.






Install the 10 side bolts and tighten them in 2 stages, in the sequence shown.
Stage 1: Tighten to 30 Nm (22 lb-ft).
Stage 2: Tighten an additional 90 degrees