lemon-mirror:
Home >> Ford >> 2009 >> Crown Victoria V8-4.6L >> Repair and Diagnosis >> Specifications >> Mechanical Specifications >> Engine >> Cylinder Block Assembly >> System Specifications

System Specifications










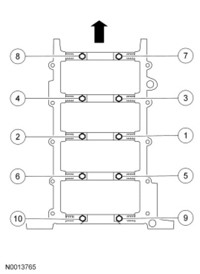
MAIN BEARING CAP TORQUE & SEQUENCE:

NOTE: The jackscrews are a part of the main bearing cap assembly and are screwed into the main caps, not the cylinder block.

Back out the 10 jackscrews against the cylinder block in 2 stages, in the sequence shown.
Stage 1: Tighten to 5 Nm (44 lb-in).
Stage 2: Tighten to 10 Nm (89 lb-in).





Install the 10 main bearing cap bolts and tighten in 2 stages, in the sequence shown.
Stage 1: Tighten to 10 Nm (89 lb-in).
Stage 2: Tighten to 21 Nm (15 lb-ft).





Tighten the 10 main bearing cap bolts in 2 stages, in the sequence shown.
Stage 1: Tighten to 40 Nm (30 lb-ft).
Stage 2: Tighten an additional 90 degrees.





CRANKSHAFT PULLEY:

Install the bolt and washer and tighten the crankshaft pulley bolt in 4 stages.
Stage 1: Tighten to 120 Nm (89 lb-ft).
Stage 2: Loosen 360 degrees.
Stage 3: Tighten to 50 Nm (37 lb-ft).
Stage 4: Rotate an additional 90 degrees (one-quarter turn).