lemon-mirror:
Home >> Ford >> 2009 >> Crown Victoria V8-4.6L >> Repair and Diagnosis >> Maintenance >> Timing Component Alignment Marks >> Locations

Timing Component Alignment Marks: Locations




NOTICE: Timing chain procedures must be followed exactly or damage to valves and pistons will result.

If the colored links are not visible, mark one link on one end and one link on the other end, and use as timing marks.





Using the Crankshaft Holding Tool, position the crankshaft.
- Remove the Crankshaft Holding Tool after crankshaft positioning.





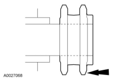
Install the crankshaft sprocket, making sure the flange faces forward.





Rotate the RH camshaft sprocket until the timing mark is approximately at the 11 o'clock position. Rotate the LH camshaft sprocket until the timing mark is approximately at the 1 o'clock position.





Position the LH (inner) timing chain on the crankshaft sprocket, aligning the colored (marked) link with the timing mark on the sprocket.





Install the LH timing chain on the camshaft sprocket, aligning the colored (marked) link with the timing marks on the sprocket.





Position the RH (outer) timing chain on the crankshaft sprocket, aligning the colored (marked) link with the timing mark on the sprocket.





Install the RH timing chain on the camshaft sprocket, aligning the colored (marked) link with the timing marks on the sprocket.





Make sure that the colored (marked) chain links are lined up with the dots on the crankshaft sprockets and the camshaft sprocket.