lemon-mirror:
Home >> Ford >> 2008 >> Ranger 2WD V6-3.0L >> Repair and Diagnosis >> Specifications >> Mechanical Specifications >> Engine >> Cylinder Head Assembly >> System Specifications

System Specifications

Head gasket surface flatness 0.08 mm (0.003 in) in 152.0 mm (6.00 in)
Head gasket surface finish (RMS) 1.0-3.3 micrometers

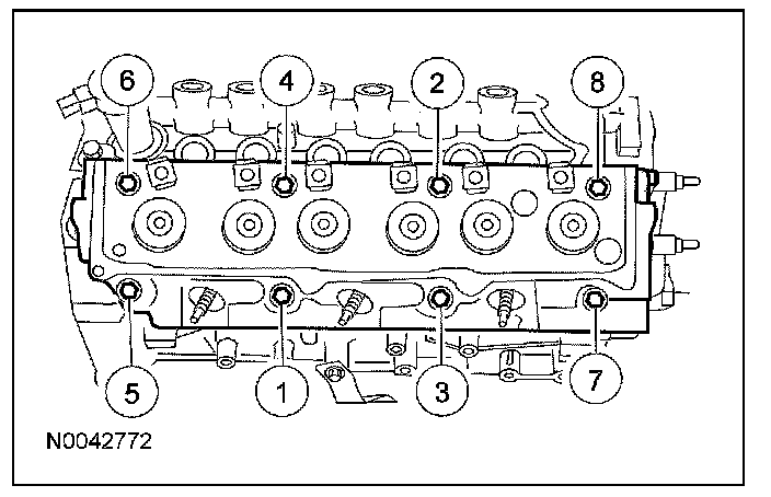
Cylinder head bolts:
Discard the cylinder head bolts.

Stage 1 50 Nm (37 lb-ft)
Stage 2 Loosen one full turn
Stage 3 30 Nm (22 lb-ft)
Stage 4 90 degrees
Stage 5 additional 90 degrees





Lower intake manifold bolts:
Stage 1 15 Nm (11 lb-ft)
Stage 2 32 Nm (24 lb-ft)





Upper intake manifold bolts 10 Nm (89 lb-inch)





LH exhaust manifold (New Studs and Bolts):
Stage 1 10 Nm (89 lb-inch)
Stage 2 23 Nm (17 lb-ft)





RH exhaust manifold (New Studs and Bolts):
Stage 1 10 Nm (89 lb-inch)
Stage 2 23 Nm (17 lb-ft)