lemon-mirror:
Home >> Ford >> 2008 >> Mustang V8-4.6L >> Repair and Diagnosis >> Specifications >> Mechanical Specifications >> Engine >> Cylinder Block Assembly >> System Specifications

System Specifications

Cylinder Block
Cylinder bore
Diameter
Grade 1 90.200-90.210 mm (3.5512-3.5516 in)
Grade 2 90.210-90.220 mm (3.5516-3.5520 in)
Grade 3 90.220-90.230 mm (3.5520-3.5524 in)
Maximum taper 0.006 mm (0.0002 in)
Maximum out-of-round 0.020 mm (0.0008 in)
Main bearing bore inside diameter 72.400-72.424 mm (2.850-2.851 in)

Crankshaft
Main bearing journal
Diameter 67.481-67.505 mm (2.6567-2.6576 in)
Maximum taper 0.004 mm (0.0002 in)
Maximum out-of-round 0.0075 mm (0.0003 in) between cross sections
Clearance-to-cylinder block 0.048-0.024 mm (0.0019-0.0009 in)
Connecting rod journal
Diameter 53.003-52.983 mm (2.0867-2.0859 in)
Maximum taper 0.004 mm (0.0002 in)
Maximum out-of-round 0.0075 mm (0.0003 in) between cross sections
Maximum end play 0.075-0.377 mm (0.0030-0.0148 in)

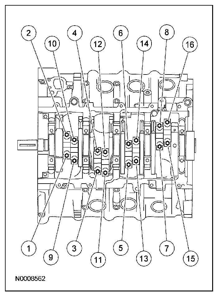
Vertical Main Bearing Cap Fasteners
Discard the vertical cap fasteners.





First pass: Fasteners 1 through 20 10 Nm (89 lb-in).
Second pass: Fasteners 1 through 10 25 Nm (18 lb-ft).
Third pass: Fasteners 11 through 20 40 Nm (30 lb-ft).
Final pass: Fasteners 1 through 20 Tighten an additional 90°

Cross-Mounted Main Bearing Cap Fasteners
Discard the cross-mounted cap fasteners.





First pass 40 Nm (30 lb-ft).
Final pass Tighten an additional 90°

Crankshaft Main Bearing Codes














Connecting Rod
Pin bore diameter 22.012-22.024 mm (0.8666-0.8671 in)
Length (center-to-center) 150.7 mm (5.933 in)
Maximum allowed bend ± 0.038 mm (0.0015 in)
Maximum allowed twist(a) ± 0.05 mm (0.0020 in)
Bearing bore diameter (with assembled liners) 53.049-53.027 mm (2.0885-2.0877 in)
Bearing-to-crankshaft clearance 0.024-0.066 mm (0.0009-0.0026 in)
Side clearance 0.5-0.15 mm (0.02-0.006 in)
(a) The pin bore and crank bearing bore must be parallel and in the same vertical plane within the specified total difference when measured at the ends of a 203 mm bar, 105.5 mm on each side of rod centerline.

Connecting Rod Cap Bolts
Discard the bolts.





First pass 43 Nm (32 lb-ft).
Final pass Tighten an additional 105°

Piston
Diameter - (at right angle to pin bore) (uncoated)
Grade 1 90.182-90.167 mm (3.5504-3.5499 in)
Grade 2 90.196-90.179 mm (3.551-3.5503 in)
Grade 3 90.208-90.193 mm (3.5515-3.551 in)
Clearance-to-cylinder bore (at grade size) 0.017-0.047 mm (0.0007-0.0019 in)
Ring end gap
Top 0.15-0.30 mm (0.006-0.012 in)
Intermediate 0.25-0.50 mm (0.0098-0.0197 in)
Oil control 0.15-0.65 mm (0.0059-0.0256 in)
Ring groove width
Top 1.52-1.54 mm (0.0598-0.0606 in)
Intermediate 1.52-1.54 mm (0.0598-0.0606 in)
Oil control 3.030-3.056 mm (0.1193-0.1203 in)
Ring width
Top and intermediate 1.50-1.48 mm (0.0590-0.0582 in)
Ring-to-groove clearance
Top 0.020-0.060 mm (0.0008-0.0020 in)
Intermediate 0.020-0.060 mm (0.0008-0.0020 in)
Pin bore diameter 22.0125-22.0175 mm (0.8666-0.8668 in)

Piston Pin
Diameter 22.0010-22.0030 mm (0.8662-0.8663 in)
Length 61.8 mm (2.433 in)
Pin-to-piston fit 0.0095-0.023 mm (0.0004-0.0009 in)
Connecting rod-to-pin clearance 0.009-0.023 mm (0.0004-0.0009 in)

Crankshaft Pulley Bolt
Discard the crankshaft pulley bolt.

First pass 90 Nm (66 lb-ft).
Second pass Loosen 360°
Third pass 50 Nm (37 lb-ft).
Final pass Tighten an additional 90°