lemon-mirror:
Home >> Ford >> 2008 >> Fusion FWD L4-2.3L >> Repair and Diagnosis >> Engine, Cooling and Exhaust >> Engine >> Service and Repair >> Procedures >> Valve Spring

Valve Spring

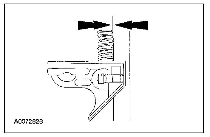
Valve Spring Installed Length

NOTE: Refer to the appropriate specification chart.

1. Measure the installed length of each valve spring.





Valve Spring Free Length

NOTE: Refer to the appropriate specification chart.

1. Measure the free length of each valve spring.





Valve Spring Squareness
1. Measure the out-of-square on each valve spring.
^ Turn the valve spring and observe the space between the top of the valve spring and the square.





Valve Spring Strength

Special Tool(s):





NOTE: Refer to the appropriate specification chart.

1. Use the special tool to check the valve spring for correct strength at the specified valve spring length.