lemon-mirror:
Home >> Ford >> 2008 >> Explorer 2WD V6-4.0L >> Repair and Diagnosis >> Engine, Cooling and Exhaust >> Engine >> Timing Components >> Service and Repair >> Procedures

Procedures

Camshaft Timing











1. Remove the camshaft roller followers.
2. If necessary, rotate the accessory drive belt tensioner counterclockwise and remove the accessory drive belt.





3. If necessary, remove the bolts and position the generator aside.





4. If necessary, remove the bolts and position the A/C compressor and power steering pump bracket aside.





5. NOTE: You must retime the LH and RH camshafts when either camshaft is disturbed.

Turn the crankshaft clockwise to position the No. 1 cylinder at top dead center (TDC).
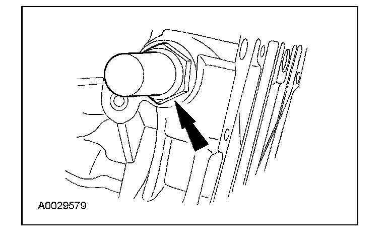
6. Remove the nut and position the wiring harness aside.





7. CAUTION: Do not rotate the engine counterclockwise. Rotating the engine counterclockwise will result in incorrect timing of the engine.

NOTE: The special tool must be installed on the damper and should contact the engine block, this positions the engine at TDC.

Install the special tool.





8. Install the special tools to the RH cylinder head and tighten the 2 top clamp bolts to 10 Nm (89 lb-in).





9. NOTE: The RH camshaft sprocket bolt is a LH-threaded bolt.

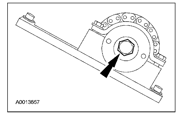
Using the special tool with the Camshaft Sprocket Nut Socket 303-565, loosen the RH camshaft sprocket bolt.





10. Loosen the top 2 special tool clamp bolts.





11. NOTE: The camshaft timing slots are off-center.

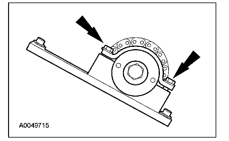
Position the camshaft timing slots below the centerline of the camshaft to correctly fit the special tools and install the special tools on the front of the RH cylinder head.





12. Remove the RH hydraulic camshaft tensioner.





13. Install the special tool.





14. NOTE: The RH camshaft sprocket bolt is a LH-threaded bolt.

Tighten the bolts.
1 Tighten the special tool top 2 clamp bolts to 10 Nm (89 lb-in).
2 Using the special tool with the Camshaft Sprocket Nut Socket 303-565, tighten the camshaft bolt to 61 Nm (45 lb-ft).





15. Remove the special tool.





16. NOTE: Install a new O-ring seal on the tensioner and lubricate with clean engine oil.

Install the RH hydraulic camshaft tensioner.
^ Tighten to 44 Nm (32 lb-ft).





17. Remove the special tools from the RH cylinder head.
18. Install the special tools on the front of the LH cylinder head and tighten the top 2 clamp bolts to 10 Nm (89 lb-in).





19. Loosen the LH camshaft sprocket bolt.





20. Loosen the top 2 clamp bolts on the special tool to allow the camshaft sprocket to rotate freely.





21. NOTE: The camshaft timing slots are off-center.

Position the camshaft timing slots below the centerline of the camshaft to correctly fit the special tools, and install the special tools on the rear of the LH cylinder head.





22. Remove the LH hydraulic camshaft tensioner.





23. Install the special tool.





24. Tighten the bolts.
1 Tighten the special tool top 2 clamp bolts to 10 Nm (89 lb-in).
2 Tighten the LH camshaft bolt to 85 Nm (63 lb-ft).





25. Remove the special tool.





26. NOTE: Install a new O-ring seal on the tensioner and lubricate with clean engine oil.

Install the LH hydraulic camshaft tensioner.
^ Tighten to 44 Nm (32 lb-ft).





27. Remove the special tools from the LH cylinder head.
28. Remove the special tool.





29. Position the battery cable bracket and install the nut.
^ Tighten to 20 Nm (15 lb-ft).





30. If necessary, position the A/C compressor and power steering pump bracket and install the bolts.
^ Tighten to 42 Nm (31 lb-ft).





31. If necessary, position the generator and install the bolts.
^ Tighten to 47 Nm (35 lb-ft).





32. If necessary, rotate the accessory drive belt tensioner counterclockwise and install the accessory drive belt.





33. Install the camshaft roller followers.