lemon-mirror:
Home >> Ford >> 2008 >> E 150 V8-5.4L >> Repair and Diagnosis >> Specifications >> Mechanical Specifications >> Engine >> Cylinder Block Assembly >> System Specifications

System Specifications

Cylinder Block
Cylinder bore diameter - grade 1 90.200-90.210 mm (3.5512-3.5516 in)
Cylinder bore diameter - grade 2 90.210-90.220 mm (3.5516-3.5520 in)
Cylinder bore diameter - grade 3 90.220-90.230 mm (3.5520-3.5524 in)
Cylinder bore maximum taper 0.006 mm (0.00023 in)
Cylinder bore maximum out-of-round 0.020 mm (0.00079 in)
Main bearing bore inside diameter 72.400-72.424 mm (2.850-2.851 in)
Cylinder bore diameter - surface finish (RMS) 0.2-0.6 microns

Crankshaft
Main bearing journal diameter 67.482-67.504 mm (2.6568-2.6576 in)
Main bearing journal maximum taper (straightness) 0.004 mm (0.0002 in)
Main bearing journal maximum out-of-round between cross sections 0.0075 mm (0.0003 in)
Main bearing journal-to-cylinder block clearance 0.048-0.024 mm (0.0019-0.0009 in)
Connecting rod journal diameter 53.003-52.983 mm (2.0867-2.0859 in)
Connecting rod journal maximum taper 0.004 mm (0.0002 in)
Connecting rod journal maximum out-of-round between cross sections 0.0075 mm (0.0003 in)
Crankshaft maximum end play 0.075-0.377 mm (0.0030-0.0148 in)

Crankshaft Main Bearing Cap Vertical Bolts
Discard the bolts.

Stage 1 40 Nm (30 lb-ft).
Stage 2 Tighten an additional 90°





Crankshaft Main Bearing Cap Side Bolts
Discard the bolts.

Stage 1 30 Nm (22 lb-ft).
Stage 2 Tighten an additional 90°





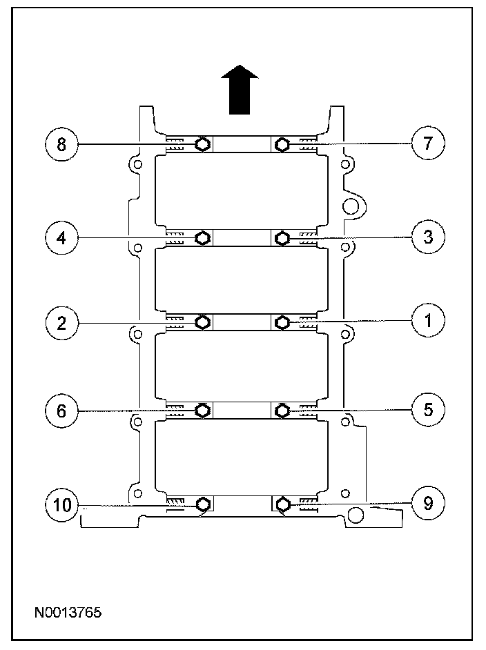
Crankshaft Main Bearing Codes














Connecting Rod
Connecting rod-to-pin clearance 0.009-0.023 mm (0.0004-0.0009 in)
Connecting rod pin bore diameter 22.012-22.024 mm (0.8666-0.8671 in)
Connecting rod length (centerline bore-to-bore) 169.1 mm (6.6575 in)
Connecting rod maximum allowed bend + 0.038 mm (±0.0015 in)
Connecting rod maximum allowed twist 0.038 mm (±0.0015 in)
Connecting rod bearing bore diameter (with assembled liners) 53.049-53.027 mm (2.0885-2.0877 in)
Connecting rod bearing-to-crankshaft clearance 0.064-0.026 mm (0.0025-0.0010 in)
Connecting rod side clearance 0.475-0.125 mm (0.0187-0.0049 in)

Connecting Rod Cap Bolts
Discard the bolts.

Stage 1 43 Nm (32 lb-ft).
Stage 2 Tighten an additional 105°





Piston
Piston diameter - grade (at right angle to pin bore) 90.175-90.165 mm (3.5502-3.5498 in)
Piston diameter - grade 2 (at right angle to pin bore) 90.185-90.175 mm (3.5506-3.5502 in)
Piston diameter - grade 3 (at right angle to pin bore) 90.195-90.185 mm (3.5510-3.5506 in)
Piston-to-cylinder bore clearance (at grade size) -0.005-0.025 mm (-0.0002-0.0001 in)
Piston ring end gap - top 0.15-0.30 mm (0.0006-0.0012 in)
Piston ring end gap - intermediate 0.25-0.50 mm (0.0098-0.0197 in)
Piston ring end gap - oil control 0.15-0.65 mm (0.0059-0.0256 in)
Piston ring groove width - top 1.53-1.55 mm (0.0602-0.0610 in)
Piston ring groove width - intermediate 1.52-1.54 mm (0.0598-0.0606 in)
Piston ring groove width - oil control 3.030-3.050 mm (0.1193-0.1201 in)
Piston ring width - top and intermediate 1.47-1.50 mm (0.0579-0.0591 in)
Piston ring-to-groove clearance - top 0.03-0.08 mm (0.0012-0.0032 in)
Piston ring-to-groove clearance - intermediate 0.02-0.07 mm (0.0007-0.0028 in)
Piston pin bore diameter 22.008-22.014 mm (0.8665-0.8667 in)
Piston pin diameter 22.001-22.0030 mm (0.8662-0.8663 in)
Piston pin length 61.601-62.030 mm (2.425-2.442 in)
Piston pin-to-piston fit (clearance) 0.005-0.013 mm (0.0002-0.0005 in)

Crankshaft Pulley Bolt
Discard the bolt.

Stage 1 90 Nm (66 lb-ft).
Stage 2 Loosen one full turn
Stage 3 50 Nm (37 lb-ft).
Stage 4 Tighten an additional 90°