lemon-mirror:
Home >> Ford >> 2008 >> E 150 V8-4.6L >> Repair and Diagnosis >> Specifications >> Mechanical Specifications >> Engine >> Cylinder Block Assembly >> System Specifications

System Specifications

Cylinder Block
Cylinder bore diameter - grade 1 90.200-90.213 mm (3.5512-3.5517 in)
Cylinder bore diameter - grade 2 90.213-90.226 mm (3.5517-3.5522 in)
Cylinder bore diameter - grade 3 90.226-90.239 mm (3.5522-3.5527 in)
Cylinder bore maximum taper 0.006 mm (0.0002 in)
Cylinder bore maximum out-of-round 0.020 mm (0.0008 in)
Main bearing bore inside diameter 72.401-72.422 mm (2.850-2.851 in)

Crankshaft
Main bearing journal diameter 63.0 mm (2.4803 in)
Main bearing journal maximum taper 0.020 mm (0.0007 in)
Main bearing journal maximum out-of-round 0.05 mm (0.002 in)
Main bearing journal-to-cylinder block clearance 0.027-0.065 mm (0.0011-0.0026 in)
Connecting rod journal diameter 52.988-53.003 mm (2.0861-2.0867 in)
Connecting rod journal maximum taper 0.015 mm (0.0006 in)
Connecting rod journal maximum out-of-round 0.05 mm (0.0020 in)
Crankshaft maximum end play 0.130-0.301 mm (0.0051-0.012 in)

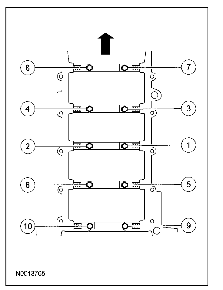
Crankshaft Main Bearing Cap Vertical Bolts
Discard the bolts.

Stage 1 40 Nm (30 lb-ft).
Stage 2 Tighten an additional 90°





Crankshaft Main Bearing Jack Screws
Stage 1 5 Nm (44 lb-in).
Stage 2 10 Nm (89 lb-in).





Crankshaft Main Bearing Cap Side Bolts 21 Nm (15 lb-ft).
Discard the bolts.





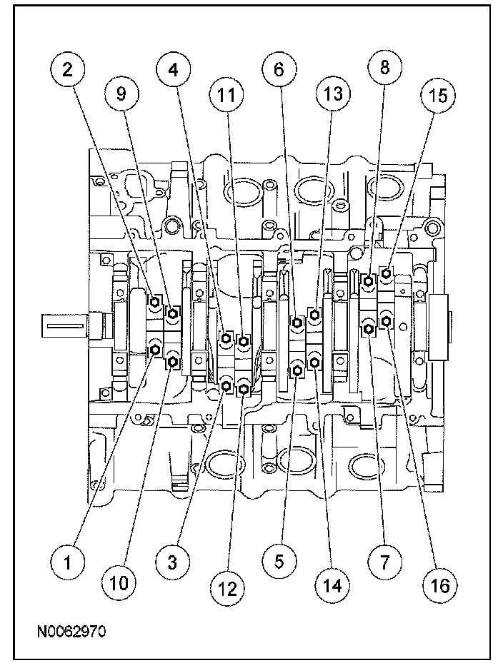
Crankshaft Main Bearing Codes








Connecting Rod
Connecting rod-to-pin clearance 0.015-0.040 mm (0.0006-0.0016 in)
Connecting rod pin bore diameter 21.959-21.979 mm (0.864-0.865 in)
Connecting rod length (center-to-center) 150.7 mm (5.93 in)
Connecting rod maximum allowed bend 0.038 mm (0.0015 in) per 25 mm (0.984 in)
Connecting rod maximum allowed twist (a) 0.050 mm (0.0019 in) per 25 mm (0.984 in)
Connecting rod bearing bore diameter 56.756-56.876 mm (2.234-2.24 in)
Connecting rod bearing-to-crankshaft clearance 0.027-0.069 mm (0.001-0.0027 in)
Connecting rod side clearance (assembled to crank) - standard 0.015-0.45 mm (0.0006-0.0177 in)
Connecting rod side clearance (assembled to crank) - service limit 0.05 mm (0.02 in) max.
(a) The pin bore and crank bearing bore must be parallel and in the same vertical plane within the specified total difference when measured at the ends of a 203 mm bar, 105.5 mm on each side of rod centerline.

Connecting Rod Cap Bolts
Discard the bolts.

Stage 1 23 Nm (17 lb-ft).
Stage 2 43 Nm (32 lb-ft).
Stage 3 Tighten an additional 105°





Piston
Piston diameter - coded red 1 90.177-90.197 mm (3.550-3.551 in)
Piston diameter - coded blue 2 90.190-90.210 mm (3.5507-3.5515 in)
Piston diameter - coded yellow 3 90.203-90.223 mm (3.513-3.5521 in)
Piston-to-cylinder bore clearance 0.012-0.0026 mm (0.0005-0.001 in)
Piston ring end gap - compression (top and bottom) 0.23-0.49 mm (0.010-0.020 in)
Piston ring end gap - oil ring (steel rail) 0.05-0.66 mm (0.006-0.026 in)
Piston ring groove width - compression (top) 1.520-1.550 mm (0.060-0.610 in)
Piston ring groove width - compression (bottom) 1.520-1.530 mm (0.060-0.0602 in)
Piston ring groove width - oil ring 6.996-7.224 mm (0.275-0.2844 in)
Piston ring width - compression 1.49-1.47 mm (0.0587-0.0579 in)
Piston ring width - oil ring rail (2) 0.473-0.447 mm (0.0186-0.0176 in), 0.483 mm (0.0190 in) max. at ID
Piston ring width - oil ring expander 2.038-1.960 mm (0.080-0.077 in)
Piston ring-to-groove clearance - compression 0.030-0.070 mm (0.0012-0.0028 in)
Piston ring-to-groove clearance - oil ring assembly 0.046-0.196 mm (0.0018-0.0077 in)
Piston pin bore diameter 22.0015-22.004 mm (0.866-0.8663 in)
Piston pin diameter 22.0 mm (0.866 in)
Piston pin length 61.8 mm (2.433 in)
Piston pin-to-piston fit 0.005-0.010 mm (0.0002-0.0004 in)

Crankshaft Pulley Bolt
Discard the bolt.

Stage 1 120 Nm (89 lb-ft).
Stage 2 Loosen one full turn
Stage 3 50 Nm (37 lb-ft).
Stage 4 Tighten an additional 90°