lemon-mirror:
Home >> Ford >> 2008 >> Crown Victoria V8-4.6L >> Repair and Diagnosis >> Specifications >> Mechanical Specifications >> Engine >> Cylinder Head Assembly >> System Specifications

System Specifications

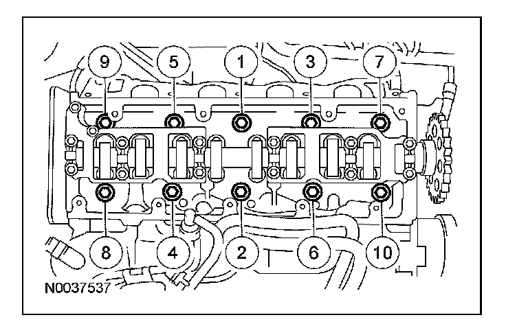
Cylinder Head Bolts
The cylinder head bolts must be discarded and new bolts installed. They are a tighten-to-yield design and cannot be reused.





First pass 40 Nm (30 lb-ft).
Second pass Tighten an additional 90° (1/4 turn)
Third pass Loosen a minimum of one full turn (360°)
Fourth pass 40 Nm (30 lb-ft).
Fifth pass Tighten an additional 90° (1/4 turn)
Final pass Tighten an additional 90° (1/4 turn)

Cylinder Head
Cylinder head flatness must be within 0.0254 mm (0.001 inch) across a 38.1 mm (1.5 inch) square area.

The cylinder head must not have depressions deeper than 0.0254 mm (0.001 inch) across a 38.1 mm (1.5 inch) square area, or scratches more than 0.0254 mm (0.001 inch).

Intake Manifold Bolts 25 Nm (18 lb-ft).





Camshaft Bearing Cap Bolts 10 Nm (89 lb-in).





Camshaft Sprocket Bolts
Install new bolts.

First pass 40 Nm (30 ft. lbs.).
Final pass Tighten an additional 90° (1/4 turn)

Exhaust Manifold Studs 12 Nm (9 lb-ft).
Discard the studs.

Exhaust Manifold Nuts 20 Nm (15 lb-ft).
Discard the nuts.