lemon-mirror:
Home >> Ford >> 2008 >> Crown Victoria V8-4.6L >> Repair and Diagnosis >> Heating and Air Conditioning >> Control Assembly >> Service and Repair >> Climate Control Assembly

Climate Control Assembly

CLIMATE CONTROL ASSEMBLY

Removal and Installation
1. Depower the supplemental restraint system (SRS).
2. Detach the finish panel.







3. Disconnect the electrical connector.







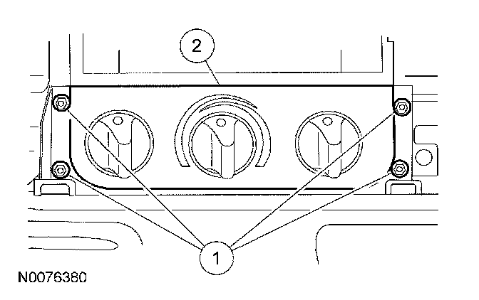
4. Reposition the climate control assembly.
1 Remove the 4 climate control assembly screws.
2 Position the climate control assembly rearward.







5. Remove the climate control assembly.
1 Disconnect the electrical connectors.
2 Disconnect the vacuum connector and remove the climate control assembly.







6. To install, reverse the removal procedure.