lemon-mirror:
Home >> Ford >> 2008 >> Crown Victoria V8-4.6L >> Repair and Diagnosis >> Body and Frame >> Seats >> Seat Temperature Control Module >> Service and Repair

Seat Temperature Control Module: Service and Repair

HEATED SEAT MODULE

Exploded View


Front Seat Backrest (Part 1):






Front Seat Backrest (Part 2):






Front Seat Cushion (Part 1):






Front Seat Cushion (Part 2):






Removal

WARNING:
- Never probe the electrical connectors on air bag, safety canopy or side air curtain modules. Failure to follow this instruction may result in the accidental deployment of these modules, which increases the risk of serious personal injury or death.
- To reduce the risk of accidental deployment, do not use any memory saver devices. Failure to follow this instruction may result in serious personal injury or death.


NOTE:
- The air bag warning indicator illuminates when the restraints control module (RCM) fuse is removed and the ignition switch is ON. This is normal operation and does not indicate a supplemental restraint system (SRS) fault.
- The SRS must be fully operational and free of faults before releasing the vehicle to the customer

1. Position the seat to access the fasteners.
2. Depower the SRS.
3. Remove the affected seat.
4. Disconnect the electrical connector.







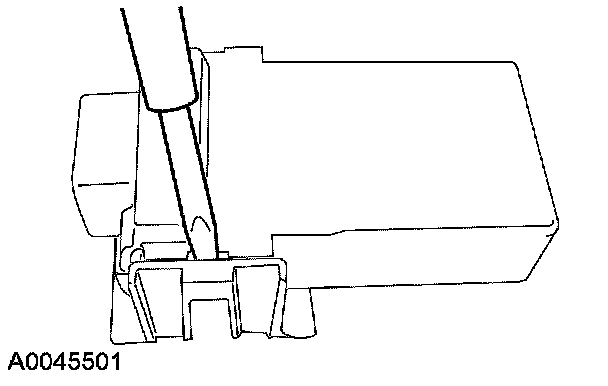
5. Insert a flat-blade screwdriver into the heated seat module bracket and release the locking tab. Remove the heated seat module.







Installation
1. Install the heated seat module in the mounting bracket. Verify that the locking tab is correctly seated.







2. Connect the heated seat module electrical connector.







3. Install the affected seat.
4. Repower the SRS.