lemon-mirror:
Home >> Ford >> 2007 >> Fusion FWD L4-2.3L VIN Z >> Repair and Diagnosis >> Specifications >> Mechanical Specifications >> Engine >> Timing Components >> Timing Cover

Timing Cover

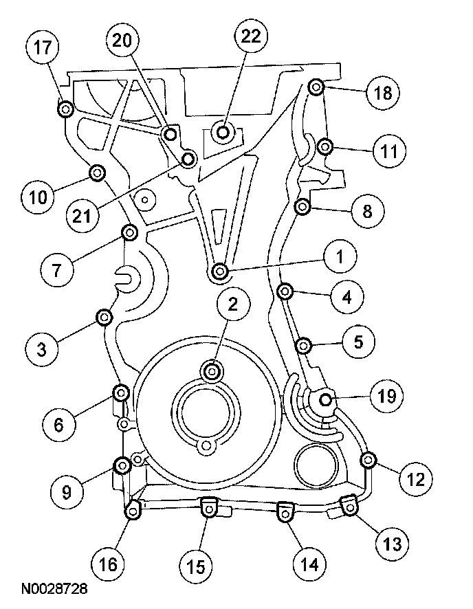
Engine Front Cover
Install the engine front cover. Tighten the bolts in the sequence shown, to the following specifications:
^ Tighten the 8-mm bolts to 10 Nm (89 inch lbs.)
^ Tighten the 13-mm bolts to 48 Nm (35 ft. lbs.)