lemon-mirror:
Home >> Ford >> 2007 >> Fusion FWD L4-2.3L VIN Z >> Repair and Diagnosis >> Body and Frame >> Frame >> Subframe >> Front Subframe Mount >> Service and Repair

Front Subframe Mount: Service and Repair




Subframe Bushings - Front





Removal









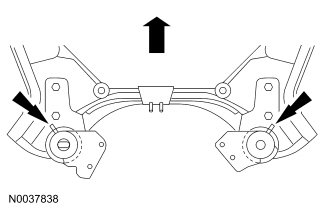
All bushings

1. Remove the front subframe. For additional information, refer to Subframe - Front Subframe - Front.

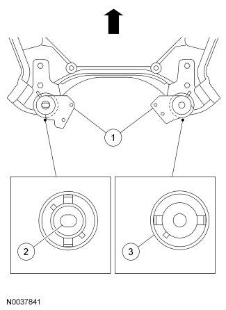
Front bushings

2. NOTICE: Damage to the subframe may occur if a screwdriver is used to remove the front bushings or if the correct tools are not used.

Assemble the special tools to the groove between the upper and lower bushings and tighten.





3. Remove the lower bushing using a hammer.

4. Turn the subframe over.

5. Assemble the special tools to the upper bushing.





6. Remove the upper bushing using a hammer.

Rear bushings

7. Remove the 4 nuts and crossmember from the front subframe.





8. Mark the orientation of the bushings to the subframe.





9. Remove the lower rear bushings using a flat-blade screwdriver, being careful not to damage the subframe.





10. Turn the subframe over.

11. Remove the upper rear bushings using a flat-blade screwdriver, being careful not to damage the subframe.

Installation

Front bushings

1. NOTE: The bushings must be installed with the correct orientation or increased noise and vibration may occur.

Assemble the special tools to the front subframe with the new front bushings. The upper and lower bushings are installed at the same time.





2. Align the front subframe bushings to the front subframe.

1. Align the left upper and left lower subframe bushings.

2. Align the right upper and right lower subframe bushings.





3. Press the new front bushings into the front subframe.

Rear bushings

4. NOTE: The bushings must be installed with the correct orientation or increased noise and vibration may result.

Assemble the special tools to the front subframe with the new rear bushings. The upper and lower bushings are installed at the same time.





5. Align the rear bushings to the front subframe.

1. Align the upper rear bushings to the mark on the subframe.

2. Align the left rear lower bushing.

3. Align the right rear lower bushing.





6. Install the 4 nuts and crossmember to the front subframe.
- To install, tighten to 65 Nm (48 lb-ft).

7. Press the new rear bushings into the front subframe.

All bushings

8. Install the front subframe. For additional information, refer to Subframe - Front Subframe - Front.