lemon-mirror:
Home >> Ford >> 2007 >> Freestar V6-4.2L VIN 2 >> Repair and Diagnosis >> Powertrain Management >> Computers and Control Systems >> Engine Control Module >> Technical Service Bulletins >> Customer Interest >> Engine Controls, A/T - Various Driveability Issues/DTC's

Engine Controls, A/T - Various Driveability Issues/DTC's

TSB 06-14-10

07/24/06

ENGINE/TRANSMISSION DRIVEABILITY ISSUES

FORD:
1999-2003 Windstar
2004-2007 Freestar

MERCURY:
2004-2007 Monterey

This article supersedes TSB 05-23-7 to update the Service Procedure and model years.

ISSUE
Some 1999-2003 Windstar and 2004-2007 Freestar / Monterey vehicles built prior to 6/22/2006 may exhibit engine / transmission driveability issues due to water entering the powertrain control module (PCM) or transaxle vent. Symptoms may include various diagnostic trouble codes (DTCs), harsh or delayed transmission shifts I engagements, no reverse engagement, engine overheat, engine lean condition causing a misfire (possibly leading to melted electrodes on the spark plugs), and rough idle. The water leakage may be due to the PCM connector cover not seating completely and water leaking down from the cowl panel grille (cowl top vent panel) area.

ACTION
During normal diagnostic and repair procedures, inspect for evidence of water damage at the PCM, PCM connector, and/or transaxle. If present, inspect the sealing area of the PCM cover, seal the water leak path in the cowl panel grill area, and service the PCM as needed per the following Service Procedure.

SERVICE PROCEDURE





Disconnect the PCM connector. Remove the PCM cover from the studs in the bulkhead. (Figure 1)





Inspect the body sealant on the bulkhead to ensure it is not protruding out causing the cover not to seal properly in that area. (Figure 2) If sealant is interferring with the PCM cover, remove excess with a sharp tool. Reinstall the PCM cover ensuring the cover seals and is flush with the bulkhead.





1. Remove the wiper pivot arm. (Figure 3)

a. Release pivot arm nut cover.

b. Remove the pivot arm nut.

c. Remove the pivot arm.





2. Remove the screws. (Figure 4)

3. Release the clips.

4. Remove the windshield wiper hose.

5. Remove the upper cowl panel grille.





6. Disconnect the electrical connector. (Figure 5)





7. Remove the lower cowl panel assembly. (Figure 6)

a. Remove the ten (10) bolts.

b. Remove the lower cowl panel assembly.

8. Obtain two (2) PVC soft foam adhesive stripes (164-R4901) from the Rotunda Squeak And Rattle Kit (164-R4900).





9. Cut both of the PVC soft foam adhesive stripes in half, lengthwise, so you have four (4) pieces 7/8" x 6" (22 mm x 152 mm). (Figure 7)

10. Clean the metal body surface under the lower cowl panel, in the area above the transaxle and the area above the PCM.





11. Place two (2) of the cut pieces of the PVC sofi foam adhesive stripes on the metal body surface over the transaxle area. The two ends need to touch, do not allow any gap between the two ends. (Figure 8)





12. Place the other two cut pieces of the PVC soft foam adhesive stripes on the metal body surface over the PCM area. The two ends need to touch, do not allow any gap between the two ends. (Figure 9)





13. Check that the three (3) rubber plugs and five (5) gray plastic clips are fully seated. Add Clear Silicone Rubber around the three (3) rubber plugs and the five (5) gray plastic clips. (Figure 10)





14. Remove and discard the two rubber plugs on the bottom of the cowl sheet metal. (Figure 11)





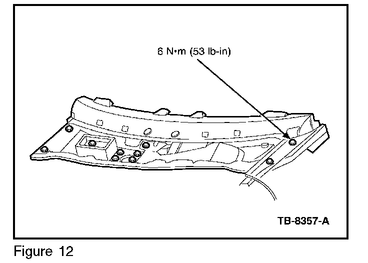
15. Install the lower cowl panel and 10 retaining bolts. (Figure 12)





16. Connect the electrical connector. (Figure 13)

17. Install the upper cowl panel grille.

18. Install the windshield wiper hose.





19. Install four (4) new pushpin screw/rivets to secure the upper cowl to the lower cowl. Add Clear Silicone Rubber to the four (4) pushpin screw/rivets to make a watertight seal around them. (Figure 14)





20. Add Clear Silicone Rubber to the front seam between the upper and lower cowl in the area above the transaxle. (Figure 15)





21. Install wiper pivot arms. (Figure 16)

NOTE
APPLY THREADLOCK TO THE PIVOT ARM NUT.

22. Check the wiper pivot arm adjustment.





Parts Block

WARRANTY STATUS: Eligible Under Provisions Of New Vehicle Limited Warranty Coverage

OPERATION DESCRIPTION TIME

061410A 2004-2007 1.0 Hr.
Freestar/Monterey,
1999-2003 Windstar:
Inspect And Seal The
Cowl Panel Grill Area (Do
Not Use With 17526A,
17566A, 17508A, 17603A)

MT061410 Claim Additional Labor Actual
Required As Actual Time Time
Or Use SLIS Operation If
Available

DEALER CODING
CONDITION
BASIC PART NO. CODE
7002030 68





Disclaimer