lemon-mirror:
Home >> Ford >> 2007 >> Expedition 2WD V8-5.4L >> Repair and Diagnosis >> Specifications >> Mechanical Specifications >> Engine >> Oil Pan, Engine

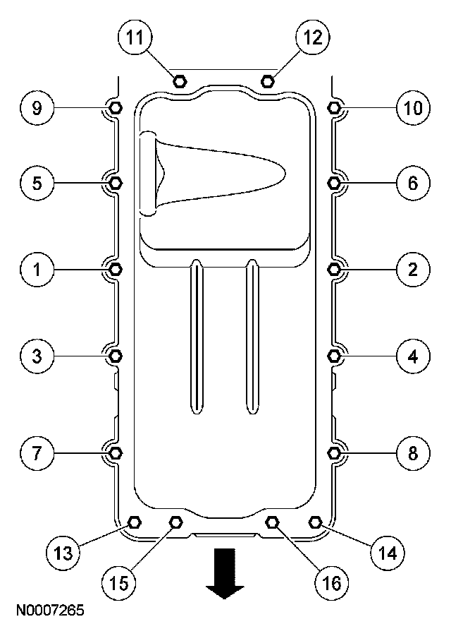
Oil Pan, Engine

Oil Pan Bolts





First pass 2 Nm (18 inch lbs.)
Second pass 20 Nm (15 ft. lbs.)
Final pass Tighten 60°