lemon-mirror:
Home >> Ford >> 2007 >> E 150 V8-5.4L >> Repair and Diagnosis >> Powertrain Management >> Computers and Control Systems >> Transmission Position Sensor/Switch >> Adjustments

Transmission Position Sensor/Switch: Adjustments

4R70W/4R75W Automatic Transmission

Transmission Range (TR) Sensor Adjustment

Special Tool(s):





CAUTION: Do not pry on the swivel tube to disconnect the transmission shift linkage.

NOTE: Manual shift lever must be in the NEUTRAL position.

1. With the vehicle in NEUTRAL, position it on a hoist. For additional information, refer to Maintenance/Service and Repair.
2. Disconnect the selector lever cable from the manual lever.





3. Disconnect the digital transmission range TR sensor electrical connector.





4. Remove the manual control lever.
1 Remove the manual control lever nut.
2 Remove the manual control lever.





5. Loosen, but do not remove, the digital TR sensor bolts.





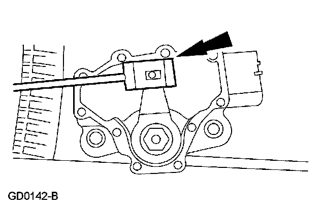
6. NOTE: The manual shift lever must be in the NEUTRAL position.

Using the special tool, align the digital TR sensor slots. The tool is designed to fit snug.





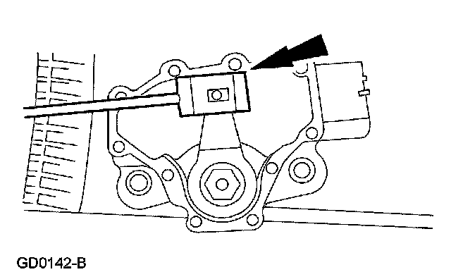
7. CAUTION: Tightening one bolt before tightening the other may cause the sensor to bind or become damaged.

Using the special tool, align the digital TR sensor and tighten the bolts in an alternating sequence.
^ Tighten to 9 Nm (80 inch lbs.).





8. Install the manual control lever.
1 Position the manual control lever.
2 Install a new manual lever shaft outer nut.
^ Tighten to 33 Nm (24 ft. lbs.)





9. Install the digital TR sensor electrical connector.





10. With the manual lever in NEUTRAL, connect the selector lever cable.