lemon-mirror:
Home >> Ford >> 2005 >> Escape 2WD L4-2.3L VIN Z >> Repair and Diagnosis >> Specifications >> Mechanical Specifications >> Engine >> Timing Components >> Timing Cover

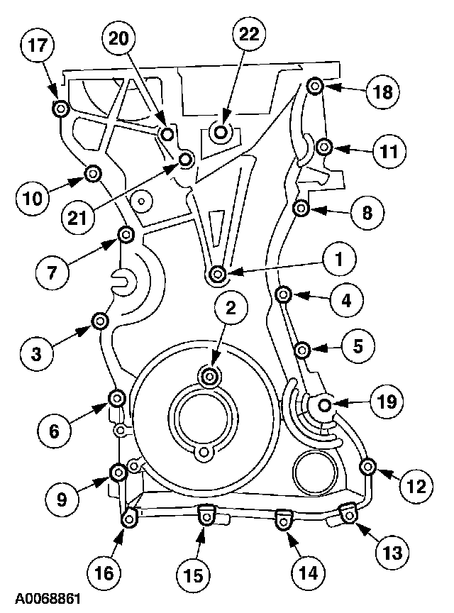
Timing Cover





Engine front cover bolts
Tighten the bolts in the sequence shown, to the following specifications:
Tighten the 8-mm bolts to 10 Nm (89 inch lbs.).
Tighten the 13-mm bolts to 48 Nm (35 ft. lbs.).