lemon-mirror:
Home >> Ford >> 2004 >> Focus L4-2.3L VIN Z >> Repair and Diagnosis >> Specifications >> Mechanical Specifications >> Engine >> Oil Pump, Engine

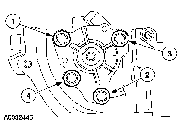
Oil Pump, Engine





Oil pump bolts.
Stage 1: Tighten the bolts 10 Nm (89 inch lbs.)
Stage 2: Tight the bolts 23 Nm (17 ft. lbs.)