lemon-mirror:
Home >> Ford >> 2004 >> Focus L4-2.3L VIN Z >> Repair and Diagnosis >> Specifications >> Mechanical Specifications >> Engine >> Oil Pan, Engine

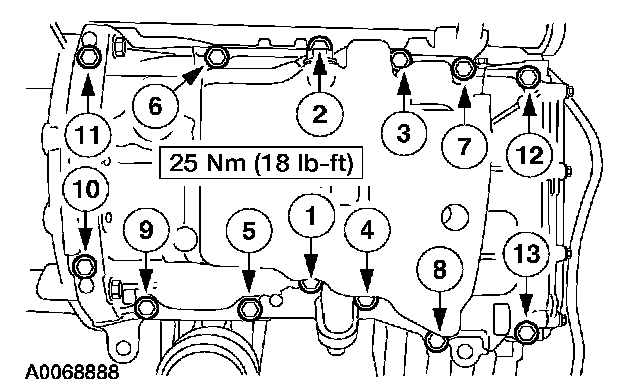
Oil Pan, Engine





Oil Pan Bolts