lemon-mirror:
Home >> Ford >> 2004 >> Explorer 2WD V6-4.0L VIN E >> Repair and Diagnosis >> Body and Frame >> Frame >> Service and Repair >> Procedures >> Frame Reinforcement

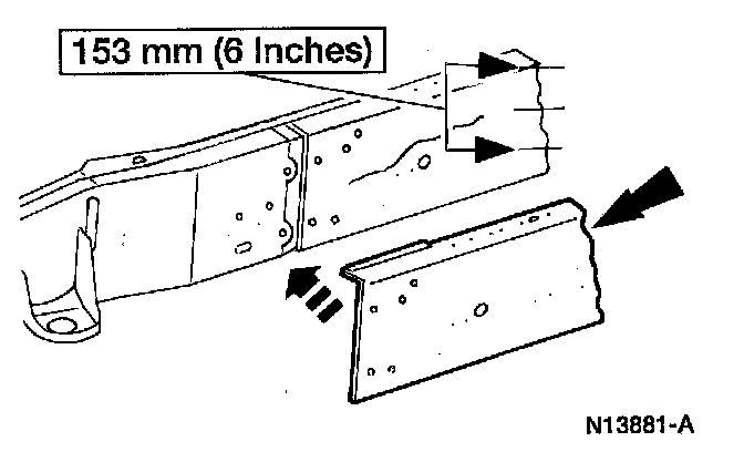
Frame Reinforcement

FRAME REINFORCEMENT

NOTE: The frame must be straightened before any reinforcing can be started.







1. After a bent frame member has been straightened, inspect the frame member closely for cracks. If any cracks show, the frame member should be reinforced or replaced.

Reinforcements should be made from angle or flat stock of the same material and thickness as the frame member being reinforced, and should extend to either side of the crack.

Ideally, the reinforcement should be cut from the corresponding area of a similar frame.