lemon-mirror:
Home >> Ford >> 2004 >> Excursion 2WD V8-6.0L DSL Turbo VIN P >> Repair and Diagnosis >> Powertrain Management >> Computers and Control Systems >> Engine Control Module >> Description and Operation >> FICM Guide

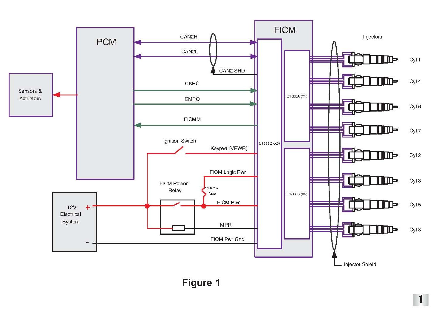
FICM Guide








FICM Description and Basic Operation.

A drawing of the FICM (Fuel Injection Control Module) subsystem is shown in Figure 1.

The FICM drives the fuel injector solenoids based on fuel and timing commands (via *CAN2 link) from the PCM. It uses engine speed and position signals (*CKPO, *CMPO) to determine when the injectors need to be activated.

The ignition switch provides *KEYPWR to the FICM. Once this signal is detected by the FICM, the *MPR output of the FICM will engage the FICM relay. This in turn provides the *FICM PWR and *FICM Logic PWR voltages to the FICM.

The FICM provides a feedback signal to the PCM indicating when the FICM is providing control signals to the injector (fueling) (via CAN2 link and *FICMM signal).

The FICM will cycle through the injector outputs when the key is placed in the ON position. This is called pre-cycle and the time of pre-cycle varies with engine temperature. The pre-cycle is done as a self test of the injector circuits

*See Glossary for detailed definition or explanation.






The internal structure of the FICM is shown in Figure 2.The FICM internally generates 48V used to drive the injector solenoids

See Figure 3 for diagram of output configuration Each individual injector is controlled with four driver outputs from the FICM There are high and low side drivers for the open and close coil of each injector

On 2004.25+ (1845117C2 FICMs) the low side driver is actually shared among 4 injectors This means an injector short to ground on the low side could produce four different cylinder error codes On 2003.25 (1837127C4 FICMs) there are individual low side drivers for each injector. This means a low side failure would result in a single injector error code. Note: International FICM part numbers are located on a label on the connector side of the module.






To drive the fuel injector the FICM produces two control signals for each injector.

The open coil is driven (via a 20A pulse) to open the injector. This shifts the spool valve in the injector to the open state. Once this has taken place, high pressure oil is directed on top of the injector intensifier piston. In result, fuel is being delivered through the nozzle of the injector.

Once the desired fuel has a been delivered, as calculated by the PCM/FICM, the close coil is driven (via a 20A pulse) to close the injector. This stops the distribution of high pressure oil to the top of the intensifier piston thus stopping the delivery of fuel.

The net time between pulses is equivalent to the fuel pulse width (FuelPW) used to provide fueling.

The coil on time is currently calibrated from 400us to 5.8ms. The 5.8ms is for cold starts. As the engine warms up the duration decreases and settles around 800us depending on the amount of fuel being commanded.






The FICM is isolated from the engine with vibration dampers The dampers reduce the amount of engine vibration induced into the module and protects the internal electronics.

NOTE: It is very important for the long term reliability of the FICM that the isolators be reinstalled after any service work is performed

On 2OO3.25 6.0L engines the dampers were mounted directly to the FICM

On 200425 6.0L engines the dampers were moved to base of the bracket supporting the FICM

Econoline chassis have the FICM mounted in the engine compartment near the brake booster. The FICM is mounted with vibration dampers and they should be replaced upon completion of any service