lemon-mirror:
Home >> Ford >> 2004 >> Escape AWD V6-3.0L VIN 1 >> Repair and Diagnosis >> Specifications >> Mechanical Specifications >> Engine >> Intake Manifold

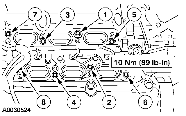
Intake Manifold





Upper intake manifold bolts 10 Nm (89 inch lbs.)





Lower intake manifold bolts 10 Nm (89 inch lbs.)