lemon-mirror:
Home >> Ford >> 2003 >> Windstar V6-3.8L VIN 4 >> Repair and Diagnosis >> Specifications >> Mechanical Specifications >> Engine >> System Specifications >> Torque Specifications

Torque Specifications

Torque Specifications


















Intake Manifold Sequence


LH:







Exhaust Manifold torque and sequence





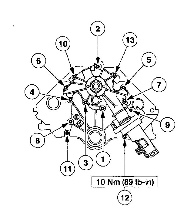
Water Pump sequence