lemon-mirror:
Home >> Ford >> 2002 >> Windstar V6-3.8L VIN 4 >> Repair and Diagnosis >> Powertrain Management >> Computers and Control Systems >> Relays and Modules - Computers and Control Systems >> Engine Control Module >> Service and Repair

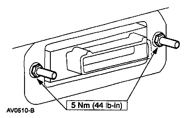
Engine Control Module: Service and Repair

REMOVAL
1. Disconnect the battery ground cable.
2. Remove cowl top vent panel.







3. Disconnect the Powertrain Control Module (PCM) electrical connector.







4. Remove the PCM cover.
5. Remove the PCM.

INSTALLATION
1. To install, reverse the removal procedure.