lemon-mirror:
Home >> Ford >> 2001 >> Excursion 2WD V10-6.8L VIN S >> Repair and Diagnosis >> Powertrain Management >> Computers and Control Systems >> Transmission Position Sensor/Switch >> Service and Repair

Transmission Position Sensor/Switch: Service and Repair

Digital Transmission Range (TR) Sensor

Special Tools:





Special Tool(s)

Removal

NOTE: If the vehicle is equipped with a power take-off unit, all or part of the PTO unit may need to be removed.

1. NOTE: All gasoline vehicles will have new adaptive shift strategies. Whenever the vehicle's battery has been disconnected for any type of service or repair, the strategy parameters that are stored in the keep alive memory (KAM) will be lost. The strategy will start to relearn once the battery is reconnected and the vehicle is driven. This is a temporary condition and will return to normal operating condition once the Powertrain Control Module (PCM) relearns all the parameters from the driving conditions. There is no set time frame for this process. If a concern is present during downshifts or converter clutch apply, it is not the fault of the shift strategy and will require diagnosis.

The customer needs to be notified that they may experience slightly different upshifts (either soft or firm) and that this is a temporary condition and will eventually return to normal operating condition.
Disconnect the battery ground cable.
2. Raise the vehicle on a hoist.





3. Disconnect the connector.





4. Disconnect the shift cable at the manual control lever.





5. Remove the digital Transmission Range (TR) sensor.
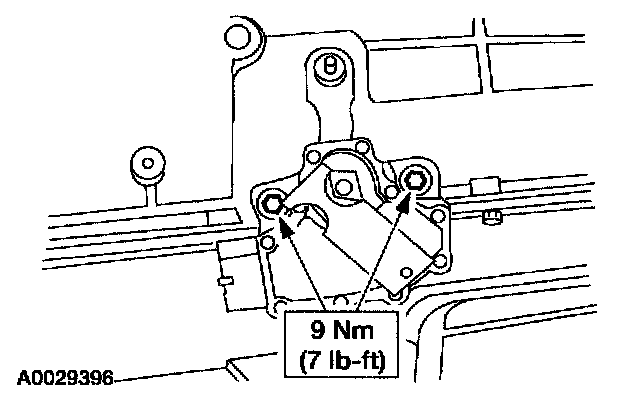
1 Remove the bolts.
2 Remove the digital Transmission Range (TR) sensor.

Installation





1. Install the digital Transmission Range (TR) sensor.
1 Install digital Transmission Range (TR) sensor.
2 Loosely install the bolts.





2. NOTE: Make sure that the manual control lever is in the neutral position.

Using the special tool, align the digital TR sensor. The tool is designed to fit snug.





3. Tighten the bolts.





4. Reconnect the shift cable at the manual control lever.





5. Reconnect the connector.
6. Lower the vehicle.
7. Reconnect the battery ground cable.