lemon-mirror:
Home >> Ford >> 2000 >> Explorer 2WD V6-4.0L VIN E >> Repair and Diagnosis >> Body and Frame >> Seats >> Seat Temperature Control Module >> Service and Repair

Seat Temperature Control Module: Service and Repair

REMOVAL

WARNING:
- ALWAYS WEAR SAFETY GLASSES WHEN REPAIRING AN AIR BAG SUPPLEMENTAL RESTRAINT SYSTEM (SRS) VEHICLE AND WHEN HANDLING AN AIR BAG MODULE. THIS WILL REDUCE THE RISK OF INJURY IN THE EVENT OF AN ACCIDENTAL DEPLOYMENT.
- AFTER DEPLOYMENT, THE AIR BAG SURFACE CAN CONTAIN DEPOSITS OF SODIUM HYDROXIDE, A PRODUCT OF THE GAS GENERANT COMBUSTION THAT IS IRRITATING TO THE SKIN. WASH YOUR HANDS WITH SOAP AND WATER AFTERWARD.
- THE RESTRAINT SYSTEM DIAGNOSTIC TOOL IS FOR RESTRAINT SYSTEM SERVICE ONLY. REMOVE FROM VEHICLE PRIOR TO ROAD USE. FAILURE TO REMOVE COULD RESULT IN INJURY AND POSSIBLE VIOLATION OF VEHICLE SAFETY STANDARDS.


CAUTION: Electronic modules are sensitive to static electrical charges. If exposed to these charges, damage may result.

NOTE:
- If a seat equipped with a seat mounted side airbag system is being serviced the airbag system must be deactivated per the deactivation procedure contained in Air Bag Systems.
- Airbag simulators (restraint system diagnostic tools) MUST be installed under the seats in the side airbag to floor connector.
- Diagnostics or repairs are not to be performed on a side airbag system with the seat in the vehicle. Prior to attempting to diagnose/repair the side airbag system the seat must be removed from the vehicle and the restraint system diagnostic tool must be installed in side airbag connector at the floor connector. The restraint system diagnostic tool must be removed prior to operating the vehicle.
- Diagnostics may be performed on seat systems other than the side airbag system (lumbar, climate controlled, heated, power seat track) with the seat installed in the vehicle as long as the restraint system diagnostic tool is installed under the seat in the side airbag to floor connector.
- After diagnosing/repairing a seat system the restraint system diagnostic tool must be removed before operating the vehicle.


1. Deactivate the supplemental restraint system. For additional information, refer to Air Bag Systems.
2. Remove the power front seat track. For additional information refer to Seat-Track, Limited and 6-Way Power.

NOTE: Be sure to read and follow all air bag warnings contained in Seat-Track, Limited and 6-Way Power, Removal and Installation.







3. Disconnect the heated seat module electrical connector.







4. Remove the heated seat module.
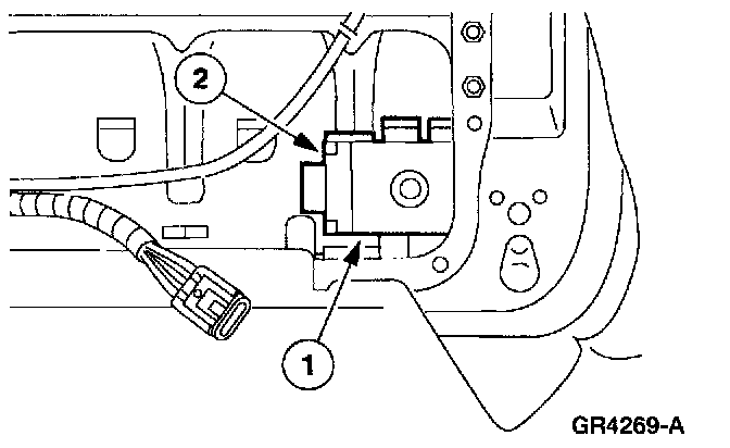
1 Release the clip.
2 Remove the heated seat module.

INSTALLATION

CAUTION: Electronic modules are sensitive to static electrical charges. If exposed to these charges, damage may result.







1. Install the heated seat module.







2. Connect the heated seat module electrical connector.
3. Install the power front seat track. For additional information, refer to Seat-Track, Limited and 6-Way Power.

NOTE: Be sure to read and follow all air bag warnings contained in Seat-Track, Limited and 6-Way Power, Removal and Installation.

4. Reactivate the supplemental restraint system. For additional information, refer to Air Bag Systems.

WARNING: THE RESTRAINT SYSTEM DIAGNOSTIC TOOL IS FOR RESTRAINT SYSTEM SERVICE ONLY. REMOVE FROM THE VEHICLE PRIOR TO ROAD USE. FAILURE TO REMOVE COULD RESULT IN INJURY AND POSSIBLE VIOLATION OF VEHICLE SAFETY STANDARDS.

5. Prove out the air bag system. For additional information, refer to Air Bag Systems.
6. Check the restraint system for proper operation.